๊น์ฌ์
(Jae-Won Kim)
1
Siva Prasad Murugan
(Siva Prasad Murugan)
2
๊ฐ๋จํ
(Nam Hyun Kang)
1*
๋ฐ์๋
(Yeong-Do Park)
2*
-
๋ถ์ฐ๋ํ๊ต ์ฌ๋ฃ๊ณตํ๋ถ
(Department of Materials Science and Engineering, Pusan National University, Busan
46241, Republic of Korea)
-
๋์๋ํ๊ต ์ ์์ฌ๊ณตํ๊ณผ
(Department of Advanced Material Engineering, Dong-Eui University, Busan 47340, Republic of Korea)
Copyright ยฉ 2019 The Korean Institute of Metals and Materials
Key words
resistance spot welding, ultra-high strength, trip steel, electrode degradation, plateau formation, electron probe micro analyzer
1. ์ ๋ก
์ต๊ทผ ์๋์ฐจ ์ฐ์
์์๋ ์๋์ฐจ ์ฐ๋น ๊ธฐ์ค ๊ฐํ ๋ฐ ์ถฉ๋์์ ์ฑ ๊ท์ ๊ฐํ๋ก ์ธํ์ฌ ์ด๊ณ ๊ฐ๋๊ฐํ (UHSS, ultrahigh strength steel)์
์ฌ์ฉ๋น์จ์ด ๊ธ๊ฒฉํ ์ฆ๊ฐํ๊ณ ์๋ค. ์ด๊ณ ๊ฐ๋๊ฐํ์ ์ข
๋ฅ๋ 2์์กฐ์ง(DP, dual phase)๊ฐ, ๋ณํ์ ๊ธฐ์์ฑ(TRIP, transformation
induced plasticity)๊ฐ ๋ฑ์ด ์์ผ๋ฉฐ, ๊ทธ ์ค TRIP๊ฐ์ ๊ณ ๊ฐ๋, ๊ณ ์ฑํ์ฑ์ ๋์์ ๋ง์กฑ์ํค๋ ๋ํ์ ์ธ ์ด๊ณ ๊ฐ๋๊ฐํ์ด๋ค [1-6].
์๋์ฐจ ์ ํฉ๊ธฐ์ ์ ์ฐจ๋ ๊ฒฝ๋ํ ์ด์์ ๋ง์ถฐ ๋ง์ฐฐ๊ต๋ฐ์ฉ์ (friction stir welding), ๋ ์ด์ ์ฉ์ (laser welding), ๊ธฐ๊ณ์ ์ฒด๊ฒฐ(self-pierce
riveting)๊ณผ ๊ฐ์ ๋ค์ํ ์ ํฉ ๊ธฐ์ ์ด ๊ฐ๋ฐ๋๊ณ ์์ผ๋ ์๋ํ๋ฅผ ํตํ ๋๋ ์์ฐ ๋ฐ ์์ฐ์๋ ํฅ์์ ์ํ ๊ฒฝ์ ์ฑ์ ๊ณ ๋ คํ๋ฉด ์ ํญ ์ ์ฉ์ (RSW,
resistance spot welding)์ด ๊ฐ์ฅ ํฐ ๋น์ค์ ์ฐจ์งํ๊ณ ์๋ค [7-10].
์๋์ฐจ ์ฐ์
์ ์์ฐ๋ผ์ธ ๊ณต์ ์ ์ฐ์์ ์ธ ์ฉ์ ์ด ์ด๋ฃจ์ด์ง๋ฉฐ, ์ ํญ ์ ์ฉ์ ์ฐ์ํ์ ์๋ช
ํ๊ฐ(electrode life)๋ ๋๊ธ ๋๋ ๋น๋๊ธ ๊ฐํ์ ๋ํ์ฌ
์ฉ์ ์ด ์ฐ์์ ์ผ๋ก ์ด๋ฃจ์ด์ง ๋ ์ ๊ทน์ ์ดํ์ ๋ ๋ฐ ์ฉ์ ํ์ง์ ๋ฏธ์น๋ ์ํฅ์ ํ๊ฐํ๋ ๋ฐฉ๋ฒ์ผ๋ก ๋ง์ ์ฐ๊ตฌ์์ ์ฌ์ฉ๋์๋ค [11-17]. ์ฐ์ํ์ ์๋ช
ํ๊ฐ์ ๊ธฐ์ค์ ํผ์ฉ์ ๊ฐํ์ ์์ ๋๊ป๋ฅผ ๊ธฐ์ค์ผ๋ก ์ฉ์ ํ ์ธก์ ํ ์๊ณ ๋๊น ์ง๊ฒฝ(critical nugget size) ์ดํ ์ ๊น์ง
์ํ๋ ์ ์๋ ์ฉ์ ์ ํ์์ด๋ฉฐ, 2~3000 ํ์ ์ด์์ ์ฉ์ ์ ์ํํ ํ, ์ฉ์ ์ฑ ํ๊ฐ๋ฅผ ์งํํ๋ ๊ฒ์ผ๋ก ๋ณด๊ณ ๋์ด ์๋ค [13-17].
ํนํ, ์์ฐ ๋๊ธ ๊ฐํ์ ๊ฒฝ์ฐ ๋น๋๊ธ ๊ฐํ๊ณผ๋ ๋ฌ๋ฆฌ Zn ๋๊ธ์ธต๊ณผ ๋ํฉ๊ธ ์ ๊ทน ์ฌ์ด์์ ํฉ๊ธ์ฑ๋ถ์ ์ํธํ์ฐ์ด ์ง์์ ์ผ๋ก ๋ฐ์ํจ์ ๋ฐ๋ผ ์ ๊ทน ์ ๋จ๊ฒฝ์
์ฑ์ฅ ๊ธฐ๊ตฌ๊ฐ ๊ทธ๋ฆผ 1์ฒ๋ผ 3๋จ๊ณ๋ก ์งํ๋๋ค. 1๋จ๊ณ๋ ์ด๊ธฐ ์ ๊ทน ํ ์ง๊ฒฝ(์ ์ )์ด ๊ธฐ๊ณ์ ๊ฐ์์ ์ํด ๋ง๋ชจ๊ฐ ๋ฐ์ํ์ฌ ์ ๊ทน์ ๊ธธ์ด๊ฐ ๊ฐ์ํ๊ณ ์ ๋จ๊ฒฝ ํฌ๊ธฐ๊ฐ ์ฆ๊ฐํ๋ค(์ง์ ).
2๋จ๊ณ๋ ์ ๊ทน ํ ๋๋จ์์ โwingโ์ ํํ๋ก ์์ฐ ๋๊ธ์ธต์ด ํก์ฐฉ(Pick-up)๋์ด ํฉ๊ธํ๊ฐ ๋ฐ์ํ๊ฒ ๋๋ค. ๋ง์ง๋ง์ผ๋ก 3๋จ๊ณ๋ ์ด๋ฌํ ์ ๊ทน ๋ง๋ชจ์
์ ๊ทน๊ณผ ํ์ฌ ์ฌ์ด ํฉ๊ธํ๊ฐ ์ฐ์์ ์ธ ์ฉ์ ์ ์ํด ๋ฐ๋ณต์ ์ผ๋ก ๋ฐ์ํ๋ค. ์ฆ, ์ฐ์์ ์ธ ์ฉ์ ์ ์ํด ์ ๊ทน ๊ธธ์ด๊ฐ ๊ฐ์ํ๊ณ , ์ ์ด๋ฉด์ ์ฆ๊ฐ์ ํจ๊ป ์ ๊ทน
๋๋จ์ ๋ฒ์ฏ ๋ชจ์์ผ๋ก ๋ณํ๋๋ mushrooming์ด ๋ฐ์ํ์ฌ ํ์ ์๊ฐ ์ฆ๊ฐํ ์๋ก ์ฉ์ ์ฑ์ด ์ ํ๋๋ ๊ฒ์ผ๋ก ๋ณด๊ณ ๋๊ณ ์๋ค [13].
Son[11] ๋ฑ์ 590 MPa๊ธ ์ ๊ธฐ์์ฐ ๋๊ธ๋ TRIP๊ฐ๊ณผ Al-Si ๋๊ธ ํซ์คํฌํ ๊ฐ์ ์ ํญ ์ ์ฉ์ ์ฐ์ํ์ ์๋ช
ํ๊ฐ๋ฅผ ํตํด ๋ ํ์ฌ ์ ์ฉ ์ ๊ทน ๋ชจ๋์์
ํฉ๊ธํ๊ฐ ๋ฐ์ํ์์ผ๋ Al-Si ๋๊ธ ํซ์คํฌํ๊ฐ์ ๊ฒฝ์ฐ 3000 ํ์ ๊น์ง์ ์ ๊ทน์๋ช
์ ๊ฐ์ง๋ฉฐ ์ด๋ Al-Si ๋๊ธ์ธต์ ๋์ ์ฉ์ต์จ๋์ ๊ธฐ์ธํ๋ ๊ฒ์ผ๋ก
๋ณด๊ณ ํ์๋ค. Seo[12] ๋ฑ์ ์ด์ข
์กฐํฉ์ ์ ํญ์ ์ฉ์ ์ฐ์ํ์ ์ ์ ์์ ์ด ์๊ณ ๋ฆฌ์ฆ์ ์ ์ฉํ์ฌ ๋ฐ์ด์ ์ต์ ํ์ฌ ์ฐ์ํ์ ์๋ช
์ด ๊ฐ์ ๋ ์ฌ๋ก๋ฅผ ๋ณด๊ณ ํ์๋ค.
์ด๊ณ ๊ฐ๋๊ฐํ์ ์ ํญ ์ ์ฉ์ ์ ๋์ ๊ฐ์ฑ์ ์ํด ํ์ฌ์ ์ ๊ทน ๊ฐ์ ์ ์ด๋ฉด์ ์ด ์ฐ๊ฐ ๋๋น ํฌ์ง ์๊ณ ๋ถ๊ท์น์ ์ด๊ธฐ ๋๋ฌธ์ ์ํธํ ์ฉ์ ์ฑ ํ๋ณด๋ฅผ ์ํด์๋
์ฐ๊ฐ ๋๋น ์๋์ ์ผ๋ก ๋์ ๊ฐ์๋ ฅ์ด ์๊ตฌ๋๋ค. ๋ํ ๊ณ ๊ฐ๋ํ๋ฅผ ์ํ ํฉ๊ธ์ฑ๋ถ ์ถ๊ฐ๋ก ๋น์ ํญ์ด ํฌ๋ฏ๋ก ์ ํญ ์ ์ฉ์ ์ ๋์ ๋ฐ์ด๊ณผ ๋๊น ์ฑ์ฅ์ด ์ด๊ธฐ ์ฉ์ ๋ถํฐ
๋ฐ์ํ๋ฉฐ ์ค๊ฐ๋ ๋ฆผ(expulsion) ๋ฐ ํ์ฌ์ ์ ๊ทน ์ฌ์ด์ ์ต์ฐฉ (sticking)์ด ๋ง์ด ๋ฐ์ํ๋ค [18]. ํนํ, ์ฐ์์ ์ธ ์ฉ์ ๊ณต์ ์์ ์ด๊ณ ๊ฐ๋๊ฐํ์ ์ฉ์ ํน์ฑ์ ํ์ฌ์ ๋์ ํฉ๊ธ ์ฑ๋ถ ๋ฐ ์์ฌ์ ์ ๊ทน๊ณ๋ฉด์์์ ๋ฐ์ด ๋๋ฌธ์ ์ฐ๊ฐ์ ์ฐ์ํ์ ์ฉ์ ํน์ฑ๊ณผ
์ ๊ทน์ ํฉ๊ธํ ๋ฐ ์ฉ์ ํ์ง ๋ฑ์ ์ฐจ์ด๊ฐ ์กด์ฌํ ๊ฒ์ผ๋ก ํ๋จ๋๋ค. ๊ธฐ์กด์ 1.0 GPa๊ธ ์ด์ ์ด๊ณ ๊ฐ๋๊ฐํ ์ ํญ ์ ์ฉ์ ํ์ง ํ๊ฐ์ ๊ดํ ์ฐ๊ตฌ์์๋
Al-Si ๋๊ธ ํซ์คํฌํ ๋ณด๋ก ๊ฐํ์ ์ฐ์ํ์ ์๋ช
ํ๊ฐ ์ฐ๊ตฌ๊ฐ ์ผ๋ถ ๋ณด๊ณ ๋๊ณ ์์ผ๋ [19], ์ฐ์ํ์ ํ๊ฐ ํ ๋๊น ์ง๊ฒฝ, ์ ๋จ์ธ์ฅ๊ฐ๋ ๋ฐ ์ ๊ทนํฉ๊ธํ ํ์ ๋ฑ์ ์ ํฉ ํน์ฑ ํ๊ฐ๋ง์ ์ฐ๊ตฌํ์์ผ๋ฉฐ, ์์ฐ๋๊ธ ์ด๊ณ ๊ฐ๋๊ฐ ์ ํญ ์ ์ฉ์ ์ฐ์ํ์
์๋ช
ํ๊ฐ์ ์ ๊ทน์ ์ดํ ๊ฑฐ๋ ํน์ฑ ๋ฐ ์ฉ์ ํ์ง์ ์๊ด๊ด๊ณ์ ๋ํ์ฌ ๊ตฌ์ฒด์ ์ธ ์ฐ๊ตฌ๋ ์งํ๋์ง ์์๋ค. ๋ฐ๋ผ์ ๋ณธ ์ฐ๊ตฌ์์๋ ํฉ๊ธ์ฉ ์ต์์ฐ๋๊ธ(Galva-annealed,
GA) ์ด๊ณ ๊ฐ๋๊ฐํ ๋์ข
2๊ฒน ์กฐํฉ์ ์ ํญ ์ ์ฉ์ ์ฐ์ํ์ ์๋ช
ํ๊ฐ๋ฅผ ์ํํ๊ณ ์ฉ์ ํ์ ์ ์ฆ๊ฐ์ ๋ฐ๋ฅธ ์ ๊ทน์ ํฉ๊ธํ ๋ฐ ์ดํ ํ์์ ๊ณ ์ฐฐํ๊ณ ์ ํ๋ค.
ํนํ ์ ๊ทน์ ํฉ๊ธํ ํ์๊ณผ ์ ๊ทน ํ์๋ณํ ๋ฑ์ด ์ฐ์ํ์ ์ฆ๊ฐ ์ ์ ํญ ์ ์ฉ์ ๋ถ ํ์ง์ ์ํฅ์ ๋ฏธ์น๋ ์ํฅ์ ๋ํด ๊ณ ์ฐฐํ๊ณ ์ ํ๋ค.
2. ์คํ ๋ฐฉ๋ฒ
2.1 ์ ํญ ์ ์ฉ์ ํ๊ฐ
๋ณธ ์คํ์ ์ฌ์ฉ๋ ์ฌ๋ฃ๋ ๋๊ป 1.2 mm์ ํฉ๊ธํ์์ฐ์ด ๋๊ธ๋ 1180 MPa๊ธ TRIP๊ฐ(C = 0.15 wt%)์ด๋ฉฐ, ์ฌ๋ฃ์ ํํ์กฐ์ฑ ๋ฐ ๋๊ธ์ธต์
์ฑ๋ถ์ ํ 1์ ๋ํ๋ด์๋ค.
๋ณธ ์คํ์์๋ ์ ์ ๋ฅ์ ์ด์ MFDC ์ ํญ ์ ์ฉ์ ๊ธฐ, ํ๋ถ ์ ๊ทน ์ ์น์ ํ์
์ ๊ฑด์ ์ฌ์ฉํ์๋ค. ๋๊ฐ์๋ ์ํ ์ฟจ๋ฌ๋ฅผ ์ฌ์ฉํ์ฌ 6 L/min์ ๋๊ฐ
์๋๋ก ์. ํ๋ถ ์ ๊ทน์ ์ผ์ ํ๊ฒ ๊ณต๊ธํ์์ผ๋ฉฐ ์ ๊ทน์ ์ ๋จ๊ฒฝ ์ง๋ฆ์ด 6.0 mm์ธ ๋(dome) ํํ์ Cu-Cr ์ ๊ทน์ ์ฌ์ฉํ์๋ค. ์คํ ์ ์ฉ์ ์
์ฌ์ฉ๋ ์ํํธ ํ๋ฉด์ ๋ถ์๋ฌผ ๋ฐ ์คํ์ ์ ๊ฑฐ๋ฅผ ์ํด ์์ฝ์ฌ ์ธ์ฒ์ ์งํํ์๋ค.
์ ํญ ์ ์ฉ์ ๊ณต์ ์กฐ๊ฑด์ ISO-18728-2(2004)๋ฅผ ๊ธฐ์ค์ผ๋ก ์ค์ ํ์์ผ๋ฉฐ ๊ณผ์
์ด์ ๋ฐ๋ฅธ ์ค๊ฐ๋ ๋ฆผ์ ๋ฐ์์ด๋ ์ ๊ทน๊ณผ ํ์ฌ์ ์ต์ฐฉ์ด ๋ฐ์ํ๋ ์ฉ์ ์ ๋ฅ์กฐ๊ฑด์
Imax๋ก ์ค์ ํ Imax - 200 A์ ์ ๋ฅ ๊ฐ์ ์ฐ์ํ์ ์ ๋ฅ์กฐ๊ฑด์ผ๋ก ์ค์ ํ์์ผ๋ฉฐ, ์ ๋ฅ๋ฅผ ์ ์ธํ ์ฉ์ ์กฐ๊ฑด๋ค์ ํ 2์ ๋ํ๋ด์๋ค.
2.2 ์ฐ์ํ์ ์๋ช
ํ๊ฐ
์ฐ์ํ์ ์๋ช
ํ๊ฐ๋ 30ํ์ ๊ฐ๊ฒฉ์ผ๋ก ๊ทธ๋ฆผ 2์ ๊ฐ์ด 40 ร 150 mm ํฌ๊ธฐ์ ์ฟ ํฐ์ผ๋ก ๋๊น๊ฒฝ(nugget size), ์ ๋จ์ธ์ฅํ์ค(peak load) ๋ณํ๋ฅผ ๊ด์ฐฐํ๊ธฐ ์ํ ์ํํธ์ ๊ฐ๊ฐ
3๊ฐ์ฉ ์ ์ํ์ฌ ์ํํ์์ต๋๋ค. ์ฐ์ํ์ ์ค ์ ๊ทน ์ ๋จ๊ฒฝ์ ํ์ฌ์ ํ๋ฉด์ ์นด๋ณธ์ง(carbon paper)๋ฅผ ๋ถ์ฐฉํ๊ณ ์ ๋ฅํต์ ์๋ ์ํ์์ ๊ฐ์๋ ฅ๋ง์
๋ถ๊ฐํ์ฌ ๊ธฐ๊ณ์ ์ธ ์ ์ด์ ์ํด ๋ฐ์ํ๋ ๋ฉด์ ์ ์ธก์ ํ์๋ค. ์ด๋ ์ฉ์ ์ค ์ ๊ธฐ๊ฐ ํต์ ๋๋ ์์ญ์ ์ ํํ๊ฒ ๋ํ๋ด์ง๋ ์์ง๋ง ์ผ๋ฐ์ ์ผ๋ก ๊ทผ์ฌ์น๋ก ๊ฐ์ฃผํ๋ค
[20]. ์ ๊ทน์ ํฉ๊ธํ ๋ฐ ์ดํ ํน์ฑ์ ๋จ์ผ ์คํ ์ค์ ์ดํ ์ ๊ทน์ ์ฑ์ทจ ๋ฐ ๊ด์ฐฐ์ด ๋ถ๊ฐ๋ฅํ๊ธฐ ๋๋ฌธ์, ๋์ผํ ํ๊ฒฝ ๋ฐ ์ฉ์ ์กฐ๊ฑด์์ 90, 180, 270
ํ์ ์ ๊ฐ๊ฐ ์ฐ์์ ์ผ๋ก ์ฉ์ ํ ํ ์ดํ ๋ ์ ๊ทน์ ๋ถ๋ฆฌ ํ ํฉ๊ธํ ๋ฐ ํ์ ๋ณํ์ ๋ํ ๋ถ์์ ์งํํ์๋ค. ์ฐ์ํ์ ์ ํญ ์ ์ฉ์ ์ ์ํด ๋ฐ์ํ๋ ๊ทน์ฌํ
์ ๊ทน ์ดํ๋ฅผ ์๋ฐฉํ๊ธฐ ์ํ์ฌ ๋ถ๋น 15ํ์ ์ ์๊ฐ ์ฃผ๊ธฐ๋ก ์ฉ์ ์ ์งํํ์๋ค
2.3 ์ฉ์ ์ฑ ํ๊ฐ
์ฉ์ ํ ๋๊น์ ํฌ๊ธฐ๋ ์ฉ์ ๋ถ๋ฅผ ์์ง๋ฐฉํฅ์ผ๋ก ์ ๋จํ ํ ๋ง์ดํ
ํ์ฌ ๋จ๋ฉด์ ์ฐ๋งํ๊ณ Picric acid ์ฉ์ก(picric acid (3 g) + HCl
(1 ml) + alcohol (100 ml))์์ ์ ์ด๊ฐ ์์นญ ํ ๊ดํํ๋ฏธ๊ฒฝ(OM, Optical macroscope)์ผ๋ก ๊ด์ฐฐํ์๋ค. ๊ฒฝ๋๋ถํฌ๋
๋น์ปค์ค ๊ฒฝ๋๊ธฐ๋ฅผ ์ด์ฉํ์ฌ 0.2 mm ๊ฐ๊ฒฉ์ผ๋ก ํ์ค 500 g์์ 10 ์ด๊ฐ ์ ์งํ์ฌ ์ธก์ ํ์์ผ๋ฉฐ, ์ธ์ฅ์ ๋จํ์ค ์คํ์ 10 ton ์ฉ๋ ๋ง๋ฅ์ํ๊ธฐ๋ก
3 mm/min์ ๋ณํ์๋๋ก ์ค์ํ์ฌ ์ฐ์ํ์ ๋ณ ์ํํธ์ ๋ํ ํ๋จํ์ค์ ์ธก์ ํ๊ณ , ์ธ์ฅ์ํ ํ ํ๋จ ์ํํธ๋ค์ ํ๋จ ์์์ ์ค์ฒดํ๋ฏธ๊ฒฝ์ผ๋ก ๊ด์ฐฐํ์๋ค.
์ฐ์ํ์ (90, 180, 270 ๋ฐ 360 ํ์ ) ํ ๊ฐ ์ ๊ทน๋ค์ ์ ๋จ๋ถ ๋ฑ๊ณ ์ ์ ๊ดํํ๋ฏธ๊ฒฝ(Optical microscope)๋ก 100๋ฐฐ ๋ฐฐ์จ์
์ ๊ทน ์ด๋ฏธ์ง๋ฅผ ํ๋ณดํ ํ Image ProTM ํ๋ก๊ทธ๋จ์ผ๋ก ์ ๋จ๋ถ๋ฅผ ๋ฐ๋ผ ์ขํ๋ฐ์ดํฐ๋ฅผ ์ถ์ถํ์ฌ ์ ์ํ์๋ค. ๋ํ ํฉ๊ธํ ํ์์ ๋ถ์์ ์ ์ ํ๋ก๋ธ x์ ๋ง์ดํฌ๋ก ์ ๋๋ผ์ด์ (EPMA, electron
probe micro analyzer)๋ฅผ ์ด์ฉํ ์ ๋ถ์(line scanning)์ ์ค์ํ์๋ค.
3. ๊ฒฐ๊ณผ ๋ฐ ๊ณ ์ฐฐ
3.1 ์ด๊ณ ๊ฐ๋๊ฐ ์ฉ์ ๋ถ ํน์ฑ
์ฐ์ํ์ ์๋ช
ํ๊ฐ ์ ์ ์ ์ฉ์ ์ ๋ฅ(Imax -200 A)๋ฅผ ๋์ถํ ํ ์ ํญ ์ ์ฉ์ ์ ์ฉ ์ํํธ์ผ๋ก ์ฉ์ ๋ถ ๋ฏธ์ธ์กฐ์ง ๋ฐ ์ ๋จ์ธ์ฅ ์ํ์ ์ค์ํ์๋ค. ๊ทธ๋ฆผ 3(a)๋ ์ฉ์ ์ ๋ฅ 8.0 kA์์ ์ ํญ ์ ์ฉ์ ํ ์ฉ์ ๋ถ ๋จ๋ฉด ๋งคํฌ๋ก์กฐ์ง์ด๋ค. ์ฉ์ ๋ ์ํํธ์ ๋๊น ์ง๊ฒฝ์ ์ฝ 6.64 mm์ด๋ฉฐ ๊ทธ ์ฃผ๋ณ์ผ๋ก ์ด์ํฅ๋ถ(HAZ,
heat affected zone)์ ์ฝ๋ก๋ ๋ณธ๋(corona bond)๊ฐ ๊ด์ฐฐ๋์๋ค. ๊ทธ๋ฆผ 3(b)๋ ๋ชจ์ฌ ์์ญ์ผ๋ก (๊ทธ๋ฆผ 3(a)์ โbโ ํ์์์ญ) ํฐ์์ ํ๋ผ์ดํธ(ferrite)์์ ๋น๋กฏํ์ฌ ๋ฒ ์ด๋์ดํธ(bainite)์ ๋ง๋ฅดํ
์ฌ์ดํธ(martensite) ๊ทธ๋ฆฌ๊ณ ์๋ฅ์ค์คํ
๋์ดํธ(retained
austenite)๊ฐ ํผ์ฌ๋ ์ผ๋ฐ์ ์ธ TRIP๊ฐ์ ๋ฏธ์ธ์กฐ์ง์ ๋ณด์ฌ์ค๋ค. ๊ทธ๋ฆผ 3(c)๋ ์ด์ํฅ๋ถ ์กฐ์ง์ผ๋ก์จ ์กฐ๋ ๊ฒฐ์ ๋ฆฝ ํ์ (Prior Austenite Grain; PAG) ๋ด์ ์นจ์ ๋ง๋ฅดํ
์ฌ์ดํธ ์กฐ์ง๋ค๋ก ๊ตฌ์ฑ๋์ด ์๋ค. ๊ทธ๋ฆผ 3(d)๋ ์ฉ์ต๋ถ ์์ญ์ผ๋ก ์นจ์ ๋ง๋ฅดํ
์ฌ์ดํธ๊ฐ ์๊ณ ์กฐ์ง ๋ด์ ๋ถํฌํ๊ณ ์๋ค. ์ ํญ ์ ์ฉ์ ์์๋ ์ ๊ทน์ ์ํํ๋ ๋๊ฐ์์ ์ํ ๋๊ฐํจ๊ณผ๋ก ํต์ ์๊ฐ (weld
time) ์งํ ์ ๊ทน์ ์ง (hold time) ์๊ฐ ๋์ ์๋ณํ ๊ตฌ๊ฐ์ธ 800 ยฐC~500 ยฐC ์ฌ์ด์์ ์ฝ 3000 ยฐC/sec์ ๋๊ฐ์๋๋ฅผ ๊ฐ์ง๋ฏ๋ก
์ฉ์ต๋ถ์ ์ด์ํฅ๋ถ์ ํ์ฑ๋๋ ์กฐ์ง์ ๋ง๋ฅดํ
์ฌ์ดํธ๊ฐ ๋๋ถ๋ถ์ธ ๊ฒ์ผ๋ก ์๋ ค์ ธ ์๋ค [21].
์ ํญ ์ ์ฉ์ ๋ถ ๋จ๋ฉด์ ๋ํ ๋์ผ ์ํธ์ ์ฉ์ ๋ถ ๊ฒฝ๋ ๋ถํฌ๋ฅผ ๊ทธ๋ฆผ 4์ ๋ํ๋ด์๋ค. ๋ง๋ฅดํ
์ฌ์ดํธ ์กฐ์ง์ผ๋ก ํ์ฑ๋ ์ฉ์ฉ๋ถ์ ์ด์ํฅ๋ถ ๊ฒฝ๋๋ ์ฝ 530 Hv์ด๋ฉฐ, ๋ชจ์ฌ ๊ฒฝ๋๋ ์ฝ 350 Hv๋ก ์ฉ์ต๋ถ์ ๋์ ๋ง๋ฅดํ
์ฌ์ดํธ
๋ถ์จ์ ์ํด ๋์ ๊ฒฝ๋ ๊ฐ์ ๋ณด์ด๋ ๊ฒ์ผ๋ก ํ๋จ๋๋ค. ์ ํญ ์ ์ฉ์ ๋ถ ์ฉ์ ํ์ง ํ๊ฐ์ ๋ค๋ฅธ ๋ฐฉ๋ฒ์ผ๋ก ์ ๋จ์ธ์ฅ์ํ์ด ์์ผ๋ฉฐ, ํด๋น ํ์ฌ์์ ์๊ตฌํ๋ ๊ท๊ฒฉ์์
์ต๋ํ์ค์ 9.42 kN (KS B 0850)์ด์์ด๋ฉฐ, ์ํ ๊ฒฐ๊ณผ ์ต๋ํ์ค ๊ฐ์ด ์ฝ 10.9 kN์ผ๋ก ๊ท๊ฒฉ์ ๋ง์กฑํ์๋ค. ์ ๋จ์ธ์ฅ์ํ ๊ฒฐ๊ณผ์ ๋ํ
Peak load์ displacement ๊ณก์ ์ ๊ทธ๋ฆผ 5์ ์ํ๊ณผ์ ์์์ ์ํํธ ๋ณํ ์์๊ณผ ํจ๊ป ๋์ํ์์ผ๋ฉฐ, ์ธ๋ถ ํ์ค์ ๋ํ์ฌ ์ต๋ํ์ค๊น์ง ๊ธ๊ฒฉํ ์ฆ๊ฐ์ ํจ๊ป ์์ฑ๋ณํ์ ๊ฑฐ์ ๋ฐ์ ์์ด ๋ฐ๋ก ํ๋จ์ผ๋ก
์ดํ๋๋ฉฐ ์ด๋ ๋๋ถ๋ถ์ ๊ณ ๊ฐ๋ ๊ฐํ์ ์ ํญ ์ ์ฉ์ ๋ถ ์ ๋จ์ธ์ฅ ์ํ๊ณผ ์ ์ฌํ ๊ฒฐ๊ณผ์ด๋ค [22]. ์ด์์ ๊ฒฐ๊ณผ๋ค์ ํ ๋๋ก TRIP1180๊ฐํ์ ์ฐ์ํ์ ์๋ช
ํ๊ฐ๋ฅผ ์ค์ํ์ฌ ์ฉ์ ์ฑ ํ๊ฐ๋ฅผ ์ํํ๊ณ , ์ ๊ทน์ ํฉ๊ธํ ๋ฐ ์ดํ ํน์ฑ์ ๊ด์ฐฐํ์๋ค.
3.2 ์ฐ์ํ์ ์๋ช
ํ๊ฐ
3.2.1 ๋๊น๊ฒฝ ๋ณํ ๋ฐ ์ ๋จ์ธ์ฅ๊ฐ๋
๊ธฐ์กด์ ์ฐ๊ตฌ๊ฒฐ๊ณผ๋ค์ ์์ฐ ๋๊ธ๋ ์ฐ๊ฐ์ ์ ํญ ์ ์ฉ์ ์ฐ์ํ์ ์๋ช
ํ๊ฐ ๊ฒฐ๊ณผ ์ฉ์ ํ์ ์ด ์ฆ๊ฐํ ์๋ก ๋๊น๊ฒฝ์ด ๊ฐ์ํ๋ ๊ฒฝํฅ์ ๋ณด์ด๊ณ , 2000 ~ 3000
ํ์ ์ดํ์ ๋๊น๊ฒฝ์ด ์๊ณ ์ง๊ฒฝ ์ดํ๊ฐ ๋์ด ์ฉ์ ๋ถ ์ ๋จ์ธ์ฅ๊ฐ๋ ๋ํ ๊ฐ์ํ๋ ๊ฒ์ผ๋ก ๋ณด๊ณ ํ๊ณ ์๋ค [10-13].
๋ณธ ์ฐ๊ตฌ์์์ ์ฐ์ํ์ ์๋ช
ํ๊ฐ๋ ์๋์ฐจ ์ฐจ์ฒด ์์ฐ ๋ผ์ธ์ ์ ์ฉ์ ์ ๊ทน ๊ด๋ฆฌ๋ฅผ ์ํด ์ํํ๋ ํ ๋๋ ์ฑ ์ฃผ๊ธฐ๋ฅผ ๊ฐ์ํ์ฌ 300 ํ์ ์ ํ๋ก ์ํํ์๊ณ ,
๋ณธ ์คํ์์๋ 360 ํ์ ์ด์์์ ํ์ฌ ๊ณ๋ฉด์์์ ๊ณผ๋ํ ์ค๊ฐ๋ ๋ฆผ๊ณผ ์ ๊ทน๊ณผ ํ์ฌ ๊ณ๋ฉด์์ ์ต์ฐฉ์ด ๋ฐ์ํ์ฌ ์คํ์ ์ค๋จํ์๋ค. ๊ทธ๋ฆผ 6์ ์ฐ์ํ์ ์๋ช
ํ๊ฐ๋ฅผ ์ํ ํ 30 ํ์ ๊ฐ๊ฒฉ์ผ๋ก ์ฑ์ทจํ ์ฉ์ ์ํํธ์ ๋ํ ๋๊น๊ฒฝ ๋ณํ ํน์ฑ ๊ฒฐ๊ณผ์ด๋ค. ๊ทธ๋ฆผ 6(a)์ ์ฉ์ ๋ถ ๋จ๋ฉด ๋ชจ์๋๋ ๊ทธ๋ฆผ 6(b), 6(c) ๋ฐ 6(d)์์ ํ์ ์์ ๋ฐ๋ฅธ ๊ฐ๊ฐ์ ์ธก์ ๊ธฐ์ค ๊ฐ์ ๊ฐ๋ต๋๋ฅผ ๋์ํ ๊ฒ์ด๋ค. ๋๊น๊ฒฝ์ ์ฉ์ ๋ถ ๋จ๋ฉด์์ ํ์ฌ ๋๊ป์ ์์ง๋ฐฉํฅ์ผ๋ก ์ต๋ ๊ธธ์ด์ด๋ฉฐ, ์ํ๊น์ด(indentation
depth)๋ ์ ํญ ์ ์ฉ์ ํ ๋ชจ์ฌ ํ๋ฉด ๊ธฐ์ค์์ ์ค๋ชฉํ๊ฒ ์์
๋ ์ต๋ ๊น์ด, ๋๊น ๊น์ด(h)๋ ์๋ถ ํ์ฌ ๋์ ์ฉ์ต๋ถ ๋๊น์ ํ์ฌ ๋๊ป๋ฐฉํฅ ๊น์ด๋ฅผ
์ฉ์ต๋ถ ์ค์ฌ ๊ธฐ์ค์ผ๋ก ์ธก์ ํ ๊ฐ, ์ฉ์ ํ ์์ฌ ๋์ด(t)๋ ์ฉ์ ํ ์ํ ๋ ํ์ฌํ๋ฉด์์ ๋๊น ์ค์ฌ๋ถ๊น์ง์ ๊ธธ์ด๋ก ๊ฐ๊ฐ ์ ์ํ์๋ค. ๊ทธ๋ฆผ 6(b)์ ๋๊น๊ฒฝ ๋ณํ๋ ์ด๊ธฐ 1 ํ์ ๋ถํฐ 60 ํ์ ๊น์ง 6 mm ์ด์์ ๋๊น์ง๊ฒฝ์ด ๊ด์ฐฐ๋๊ณ , 90 ํ์ ์ดํ๋ก๋ ๋๊น๊ฒฝ์ด 5 mm ยฑ 0.9๋ก ๋ถ๊ท์น์ ์ธ
์์์ ๋ณด์ธ๋ค. 150 ํ์ ์ ์ ์ธํ ๋ชจ๋ ํ์ ์์ ์ต์ ๊ธฐ์ค์ธ
4
t
(t = 1.2 mm), 4.38 mm๋ฅผ ๋ง์กฑํ์๋ค. ์ฉ์ ํ ์ํ ๊น์ด๋ ํ์ ์๊ฐ ์ฆ๊ฐํจ์ ๋ฐ๋ผ ์ง์์ ์ผ๋ก ์ฆ๊ฐํ์๋ค(๊ทธ๋ฆผ 6(c)). ์ผ๋ฐ์ ์ผ๋ก ์ํ ๊น์ด๋ ๊ฐ์๋ ฅ์ด ๊ณผํ๊ฒ ์ ์ฉ๋๊ฑฐ๋ ๊ณผ์
์ด์ ๋ฐ๋ฅธ ์ค๊ฐ๋ ๋ฆผ์ ์ํด ์ฉ์ต๋ถ๊ฐ ์ธ๋ถ๋ก ๋น ์ ธ๋๊ฐ ๋ ์ฆ๊ฐํ๋ ๊ฒ์ผ๋ก ์๋ ค์ ธ ์๋ค [23]. M. Kimchi[24]๋ ์ ํญ ์ ์ฉ์ ์์ ์ํ ๊น์ด๊ฐ ์ผ์ ํฌ๊ธฐ ์ด์์ด ๋ ๊ฒฝ์ฐ ์ธ์ฅ์ ๋จ๊ฐ๋๊ฐ ๊ฐ์๋๋ ๊ฒฐ๊ณผ๋ฅผ ๋ณด๊ณ ํ์๋ค.
๊ทธ๋ฆผ 6(d)๋ ์ฉ์ ํ์ ์์ ๋ฐ๋ฅธ h/t ๋น์จ์ ๋ํ๋ธ ๊ฒ์ผ๋ก ์, ํ๋ถ์ ๋ํด ๋ชจ๋ ์ธก์ ํ์ฌ ํ๊ท ํ ๊ฐ์ ์ฌ์ฉํ์๋ค. h/t ๋น์จ์ ์ด๊ณ ๊ฐ๋๊ฐ์ ๋ฐ์ด ํน์ฑ๊ณผ
๋๊ฐ๋ฅ์ ์์๋ณผ ์ ์๋ ๊ฐ์ ์ ์ธ ์ง์๋ก์, h/t ๋น์จ์ด 1์ ๊ฐ๊น์ธ์๋ก ์ฉ์ ์ ์ฉ์ต๋๋ ์์ญ์ด ํ์ฌ์ ํ๋ฉด๊น์ง ๋๋ฌํ ๊ฒ์ ์๋ฏธํ๋ฉฐ, ์ ๊ทน์
๋๊ฐ๋ฅ์ด ๊ฐ์ํ๊ฑฐ๋, ์ ๊ทน๊ณผ ํ์ฌ์ฌ์ด์ ๋ฐ์ด์ด ํฐ ๊ฒ์ ์์ํ ์ ์๋ค. ํ์ ์๊ฐ ์ฆ๊ฐํ ์๋ก h/t๋ ์ฆ๊ฐํ์๊ณ , 150ํ์ ํ์๋ ๋น์จ์ด 1์ด
๋๋ ๊ตฌ๊ฐ์ด ๋ค์ ๋ฐ์ํ์๋ค. ์์ ์ธ๊ธํ ์ํ์ ์ฆ๊ฐ๋ t์ ๊ฐ์๋ฅผ ์๋ฏธํ๋ฉฐ, ์ด๊ณ ๊ฐ๋๊ฐ์ ์ฐ์ํ์ ์ ๋์ ์ ๊ทน๊ณผ ํ์ฌ์ฌ์ด์ ๋ฐ์ด์ ์ํด ์ต์ฐฉ๊ณผ
์ค๊ฐ๋ ๋ฆผ์ด ๋ฐ์ํ์ฌ ์ ๊ทน์ ๋๊ฐ๋ฅ์ด ๊ฐ์ํ๊ณ ๊ณผํ ์ํ์ ์ํด h/t๊ฐ ์ฆ๊ฐํ ๊ฒ์ผ๋ก ํ๋จ๋๋ค.
๊ทธ๋ฆผ 7์ 1 ํ์ ๊ณผ 150 ํ์ (์ต์ ๋๊น ๊ธฐ์ค ๋ถ๋ง์กฑ) ๊ทธ๋ฆฌ๊ณ ์ต์ข
์ฉ์ ์ธ 360 ํ์ ์ ์ ์ฉ์ ๋ถ ๋จ๋ฉด์ ๊ดํํ๋ฏธ๊ฒฝ์ผ๋ก ๊ด์ฐฐํ ๊ฒฐ๊ณผ์ด๋ค. ๊ทธ๋ฆผ 7(a)๋ ์ ํ์ ์ธ ์ด๊ณ ๊ฐ๋๊ฐ์ ์ ํญ ์ ์ฉ์ ๋ถ ๋จ๋ฉด์ผ๋ก ์ฉ์ต๋ถ(ํฐ์ ์ ์ ), ์ด์ํฅ๋ถ(๋
ธ๋์ ์ ์ )๋ฐ ๋ชจ์ฌ๋ถ(์ฃผํฉ์ ์ ์ )๊ฐ ๊ฐ๊ฐ ๋ช
ํํ๊ฒ ๊ตฌ๋ถ์ด ๋๊ณ ,
์์ฌ ๋๊ป ๋ฐฉํฅ์ผ๋ก๋ ๋๊น์ด ์ฑ์ฅํ๋ฉฐ ์ฉ์ต๋ผ์ธ๊ณผ ํ์ฌ ํ๋ฉด ๊ฐ์ ๊ฐ๊ฒฉ (๊ทธ๋ฆผ 7(a)์์ t โ h ๊ฐ)์ด ์์ ๊ฒ์ ๊ด์ฐฐํ์๋ค. ๋ํ, ํ์ฌ์ ์ ๊ทน์ ์ ์ด ๋ฉด์ ์ค ๋ชจ์๋ฆฌ ๋ถ๋ถ ํด๋นํ๋ ์์ญ์ ๊ฒฝ์ฐ ๋ฏธ์ธ์กฐ์ง์ ์ฐจ์ด๋ฅผ ๋ณด์ด๊ณ ์์ด,
์ด๋ ๋์ ์ ๋ฅ๋ฐ๋(current density) ์์ญ์ผ๋ก ์ถ์ ๋๋ค. ์ด๋ ์ด๊ณ ๊ฐ๋๊ฐ์ ์ ์ฉ์ ์ ์ฐ๊ฐ๊ณผ๋ ๋ฌ๋ฆฌ ํ์ฌ์ ์ ๊ทน์ฌ์ด์ ์ ์ด ๋ถ๊ท ์ผ๋ก ๊ตญ๋ถ์ ์ธ
๋ฐ์ด๋์ ์ฐจ์ด๊ฐ ์กด์ฌํ ๊ฒ์ผ๋ก ์ ์ถ๊ฐ ๊ฐ๋ฅํ๋ค. ์ด๋ฌํ ๊ตญ๋ถ์ ํ๋ฉด ๋ฐ์ด์ ๋ฐ์์ด ์ง์๋ ๊ฒฝ์ฐ ํ์ฌ ํ๋ฉด ์ฉ์ต ๋ํ ๊ตญ๋ถ์ ์ผ๋ก ์งํ๋ ๊ฐ๋ฅ์ฑ์ด ๋งค์ฐ
๋๋ค. 150 ํ์ ํ ์ฉ์ ๋ถ ๋จ๋ฉด์์ ๊ตญ๋ถ์ ๋ฐ์ด๊ณผ ํ๋ฉด ์ฉ์ต์ ๊ฒฐ๊ณผ๋ก ๋ด๋ถ์ ๊ท ์ด(crack)์ด ๋ค์ ์กด์ฌํ๊ณ , ์ฉ์ฉ๋ถ ํ์์ด ํ์์ด ์๋ ์ฉ์ต
๋๊น๋ถ๊ฐ ํ์ฌ ๋๊ป๋ฐฉํฅ์ผ๋ก ๋์ถ๋์๋ค(๊ทธ๋ฆผ 7(b)). ์ด๋ ๊ทธ๋ฆผ 6(d)์์ ์ฉ์ ํ์ ์์ ๋ฐ๋ผ h/t์ ๊ฐ์ด 1์ ๊ทผ์ ํ๋ ๊ฒฐ๊ณผ์ ์ ๋ถํฉํ๋ค. ๊ณผ๋ค ์ต์ฐฉ ํ์์ ํ์ฑ ๊ธฐ๊ตฌ๋ 1) ์ฉ์ต๋๊น ํ์ฑ ๊ณผ์ ์์ ๋์ ์ ๋ฅ๋ฐ๋์
์ํด ํ์ฌ ํ๋ฉด์ ์ฉ์ต์ด ๋ฐ์ํ๊ณ , 2) ์ต์ฐฉ ํ์์ ์ํด ์ผ๋ถ ์ฉ์ต๊ธ์์ด ์ ๊ทน์ผ๋ก ์ดํ๋์ด ๋๊ป ๋ฐฉํฅ์ผ๋ก ๋๊น ๋์ถ์ด ํ์ฑ๋๋ฉฐ, 3) ์ต์ข
์ ์ผ๋ก
ํ์ฌ ์ธ๋ถ๋ก ๋์ถ๋ ์ฉ์ตํ์ ์ํด์ ์ ๊ทนํ๋ฉด์ ํฉ๊ธํ๊ฐ ๋ ์ฌํ๋๋ ํ๋ก์ธ์ค๋ฅผ ๊ฑฐ์น๊ฒ ๋๋ค. ๋ํ 360 ํ์ ํ ์ฉ์ ๋ถ (๊ทธ๋ฆผ 7(c))๋ ๊ทธ๋ฆผ 7(a)์ ๋ฌ๋ฆฌ ์ ๊ทน๊ณผ ํ์ฌ ์ฌ์ด์ ์ด์ํฅ๋ถ ์์ญ์ด ์กด์ฌํ์ง ์๊ณ ์ฉ์ต ๋๊ฒ์ด ํ๋ฉด์ผ๋ก ๋
ธ์ถ๋๋ฉฐ, ๊ณผ๋คํ ์ํ๊ณผ ๋ค์์ ๊ฒฐํจ์ด ๋ฐ์ํ์๋ค. ๊ทธ๋ฆผ 8์ ์ด๊ณ ๊ฐ๋๊ฐ ์ ํญ ์ ์ฉ์ ์ฐ์ํ์ ์ ์ ๊ทน๊ณผ ํ์ฌ์ฌ์ด์ ๊ตญ๋ถ์ ํฉ๊ธํ ๋ฐ ์ต์ฐฉ ๊ฑฐ๋ ๋ชจ์๋๋ฅผ ๋ํ๋ด์๋ค. ์ด๊ธฐ ๊ฐ์์ ํ์ฌํ๋ฉด๊ณผ ์ ๊ทน์ ๊ตญ๋ถ์ ์ผ๋ก
์ ์ด๋ถ๋์ด ๋ฐ์ํ๊ณ , ์ ๋ฅ๊ฐ ํต์ ๋๋ฉด ํ์ฌ์ ์ ์ด๋ ์ ๊ทน์ ๋ชจ์๋ฆฌ ๋ถ๋ถ์์ ๋์ ์ ๋ฅ๋ฐ๋์ ์ํ ๊ตญ๋ถ์ ๋ฐ์ด์ด ๋ฐ์ํ๋ฉฐ, ๋๊น์ด ํ์ฑ๋๋ ๊ณผ์ ์์
์ ๊ทน๊ณผ ํ์ฌ์ฌ์ด์๋ ํ๋ฉด ์ฉ์ต ํน์ ์ต์ฐฉ์ด ๋ฐ์ํ๋ค. ๋ง์ง๋ง์ผ๋ก ์ต์ฐฉ์ ์ํ ๊ตญ๋ถ์ ํฉ๊ธํ๊ฐ ๋ฐ์ํ๋ ๊ฒ์ผ๋ก ์ฌ๋ฃ๋๋ค.
์ผ๋ฐ์ ์ผ๋ก ์ ํญ ์ ์ฉ์ ์ ๋๊น๊ฒฝ์ ํฌ๊ธฐ๋ ์ ํฉ๊ฐ๋์ ์ง์ ์ ์ธ ์ํฅ์ด ์์ผ๋ฉฐ ์ฉ์ ๋ถ ๋ด ๊ฒฐํจ์ ์กด์ฌ ์ฌ๋ถ ์๋ ์๊ด๊ด๊ณ๊ฐ ์๋ค๊ณ ๋ณด๊ณ ๋๊ณ ์๋ค [6,7,12]. ๊ทธ๋ฆผ 9๋ฅผ ๋ณด๋ฉด ์ ๋จ์ธ์ฅ๊ฐ๋์ ๋ณํ๋ 150 ํ์ ๊น์ง 10 kN ์ด์์ ์ ์งํ๋ค๊ฐ ์ดํ๋ถํฐ ์ด๊ธฐ ํ์ค ๋๋น 80% ์ดํ(์ ์ ์ ์ )๋ก ๊ฐ์ํ์๊ณ , 300
ํ์ ์ดํ๋ก ์ํญ ์ฆ๊ฐํ์์ผ๋ ๊ทธ ๊ฐ์ด 150 ํ์ ์ด์ ์ ๊ฐ๋ ๊ฐ์๋ ๋ฏธ์น์ง ๋ชปํ์๋ค. ๊ทธ๋ฆผ 10์ ๊ฐ ํ์ ๋ณ ์ ๋จ์ธ์ฅ์ํ ์ํ ํ๋จ ํ ํ๋จ๋ชจ๋๋ฅผ ๊ด์ฐฐํ ๊ฒฐ๊ณผ์ด๋ค. 180 ํ์ ์ดํ๋ก๋ ๋ถ๋ถ ๊ณ๋ฉดํ๋จ์ด ๋ค์ ๋ฐ์ํ์๊ณ , ์ค๊ฐ๋ ๋ฆผ์ ํ์ ๋ ๊ด์ฐฐ๋์๋ค.
์ด๋ ์์ ๋๊น๊ฒฝ๋ถ์์ ํตํด ์ฉ์ ๋ถ ๋ด๋ถ์ ๋ค์์ ๊ฒฐํจ ๋ฐ ํฐ ์ํ๊น์ด ๋ฑ์ด ์ค๊ฐ๋ ๋ฆผ๊ณผ ๊ด๊ณ ์๋ ๊ฒ์ผ๋ก ์ฌ๋ฃ๋๋ค.
๊ฒฐ๊ณผ์ ์ผ๋ก ์ฉ์ ํ์ ์๊ฐ ์ฆ๊ฐํจ์ ๋ฐ๋ผ ๋๊น๊ฒฝ์ด ๊ฐ์ํ๊ณ ์ฉ์ ๋ถ ๋ด๋ถ์ ๋ค์์ ๊ฒฐํจ๊ท ์ด์ด ๋ฐ์๋ ๊ฒ์ด ๊ด์ฐฐ๋์๋ค. ์ด๋ก ์ธํด ์๋ ฅ์ง์ค์ ์ํฅ ๋ฐ
๊ณผ์ ๋๊น ์ง๊ฒฝ์ ์ํ load carrying capacityโ๊ฐ ๊ฐ์ํ์ฌ ์ต์ข
์ ์ผ๋ก ํ๋จ์ ์ด๋ฅด๋ ์ ๋จ์ธ์ฅ๊ฐ๋๊ฐ ๊ฐ์ํ ๊ฒ์ผ๋ก ํ๋จ๋๋ค.
3.2.2 ์ ๊ทน ์ ๋จ๊ฒฝ ๋ณํ ๋ถ์
์๊ธฐ์์ ์ธ๊ธํ ๋ถ๊ท์น์ ์ธ ๋๊น์ ํฌ๊ธฐ ๋ฐ ์ฉ์ ๋ถ ๋ด๋ถ ๋ค์ ๊ฒฐํจ์ด ๋ฐ์ํ ์์ธ ๊ท๋ช
์ ์ํด ๊ฐ ํ์ ๋ณ ์ ๊ทน ์ ๋จ๋ถ์ ๋ณํ๋ฅผ ๋ถ์ํ์๋ค. ๊ธฐ์กด ์ฐ๊ตฌ์๋ค
๊ฒฐ๊ณผ๋ ์์ฐ ๋๊ธ ๊ฐํ์ ์ฐ์ํ์ ์๋ช
ํ๊ฐ์์ ์ ๊ทน ์ ๋จ๋ถ ๋ฉด์ ์ ์ด๊ธฐ ์๋ฐฑ ํ์ ์ด๋ด์ ์ ๋จ๊ฒฝ์ด ๊ธ๊ฒฉํ ์ฆ๊ฐํ๋ Primary stage ์ ์ ๊ทน์
์ฑ์ฅ ๊ตฌ๋ฐฐ๊ฐ ์๋งํ Secondary stage ๋จ๊ณ๋ก ์ด 2๋จ๊ณ๋ก ๋๋๋ค๊ณ ๋ณด๊ณ ํ๊ณ ์๋ค [4,10].
๊ทธ๋ฆผ 11์ ์นด๋ณธ์ง๋ฅผ ์ด์ฉํ์ฌ ์ด๊ณ ๊ฐ๋๊ฐ์ ์ฐ์ํ์ ์๋ช
ํ๊ฐ ์ ์ ๊ทน ์ ๋จ๊ฒฝ์ 30 ํ์ ๊ฐ๊ฒฉ์ผ๋ก ์ธก์ ํ ๊ฒฐ๊ณผ๊ฐ์ด๋ค. ์ ๋จ๊ฒฝ์ ์นด๋ณธ์ง์ ํ์๋ ๋ฉด์ ์ ์์ง(D1),
์ํ(D2)๋ฐฉํฅ์ผ๋ก ์ธก์ ํ 2๋ก ๋๋์ด ํ๊ท ๊ฐ์ ๋์ถํ์๋ค. ํ์ฌ์ ์ ๊ทน ์ฌ์ด์ ์ ์ด ๋ฉด์ ์ 90 ํ์ ๊น์ง ์ฆ๊ฐ์ ๊ฐ์๊ฐ ๋ฐ๋ณต๋๋ค๊ฐ 120 ํ์
์ดํ ๊ฐ์ํ์๊ณ 240 ํ์ ์ดํ๋ถํฐ ์ด๊ธฐ ์ ์ด ๋ฉด์ ์ธ 4.6 mm ์ดํ๋ก ๊ฐ์ํ์๋ค. ๋ํ, 270 ํ์ ์นด๋ณธ์ง์์๋ ์ ๊ทน ์ค์๋ถ์ ํ์ฌ์ ๋ถ๋ถ์
๋น์ ์ด ์์ญ์ด ๊ด์ฐฐ๋์๋ค. ์ด๋ฌํ ๊ฒฐ๊ณผ๋ ๊ธฐ์กด์ ์๋ ค์ง ์ผ๋ฐ์ ์ธ ์ฐ์ํ์ ์์ ๋ฐ๋ฅธ ์ ๊ทน์ ๋ง๋ชจ ๋ฐ ์ดํ ๊ฑฐ๋๊ณผ๋ ํฐ ์ฐจ์ด๊ฐ ์๋ค. ์ ํญ ์ ์ฉ์ ์
๋ํ์ ์ธ ์(1)์ ์ํ๋ฉด ์ฉ์ต๋ถ์ ์ด๋์ ์ค์ ๋ฒ์น(Jouleโs low)์ ์ํด ์ ๋ฅ, ์๊ฐ, ์ ํญ์ ๊ณ ๋ คํด์ผ ํ๋ฉฐ, ๊ทธ ์ค ์ ํญ์ ์ ๋ฅ๊ฐ ํ๋ฅด๋ ๋จ๋ฉด์ ๋ณํ์
๋ฐ๋ผ ๋ณํํ๊ฒ ๋๋ค [4].
์ฌ๊ธฐ์ Q๋ ์ด๋(joules), I๋ ์ ๋ฅ(amperes), t๋ ์๊ฐ(seconds)์ ์๋ฏธํ๋ค. ๋ฐ์ด๋(Q)์ ์ ๋ฅ์ ์ ๊ณฑ์ ๋น๋กํ๊ณ , ํต์ ์๊ฐ(T)์ ๋น๋กํ๋ ๊ฒ์ผ๋ก ๋ณด๊ณ ๋๊ณ ์๋ค. ๋ณธ ์ฐ๊ตฌ์์๋ ์ ์ฉ์ ๊ณต์ ์กฐ๊ฑด๋ค์ด ๋์ผํ๊ฒ ์ ์ฉ๋์๊ธฐ ๋๋ฌธ์ ์ ํญ๊ฐ(
ฯ
L
A
)๋ง์ด ๋ฐ์ด๋ ์ํฅ ์ธ์์ด๋ฉฐ, ๊ทธ ์ค์์๋ ๋จ๋ฉด์ (A)์ ๋ณํ์ ์ํด ๋ฐ์ด๋ ์ฐจ์ด๋ก ํ๋จํ ์ ์๋ค. ์ฆ, ์ด๊ณ ๊ฐ๋๊ฐ์ ์ฐ์ํ์ ์๋ช
ํ๊ฐ์ ๋์ผํ ์ฉ์ ์กฐ๊ฑด์์ ์ ๊ทน์ ์ ๋จ๊ฒฝ ๊ฐ์๊ฐ ์ ๊ทน๊ณผ ํ์ฌ ์ฌ์ด์
์ ์ด๋ฉด์ ์ ๊ฐ์์ํค๋ฉด์ ์ ์ด ๊ณ๋ฉด ์ฌ์ด์ ํต์ ์ ๋ฅ๋ฐ๋๊ฐ ์ฆ๊ฐํ์ฌ ๊ณผํ ๋ฐ์ด๋์ผ๋ก ์ธํ ์ค๊ฐ๋ ๋ฆผ์ด ๋ฐ์ํ ๊ฒ์ผ๋ก ํ๋จ๋๋ค. ์ด๋ฌํ ์ค๊ฐ๋ ๋ฆผ์ผ๋ก ์ธํด
์ฉ์ ๋ถ ๋๊น์ ํฌ๊ธฐ๊ฐ ๊ฐ์ํ๊ณ ๊ฒฐํจ์ด ๋ฐ์ํ์์ผ๋ฉฐ, ์ด๋ ๊ทธ๋ฆผ 7์ ์ฉ์ ๋ถ ๋ด ๊ฒฐํจ ๋ฐ ์ต์ฐฉํ์ ๊ฒฐ๊ณผ์ ๊ทธ๋ฆผ 10์ ์ค๊ฐ๋ ๋ฆผ ํ์ ์ผ๋ก ๋ท๋ฐ์นจํ ์ ์๋ค.
3.2.3 ์ ๊ทน ์ดํ๊ฑฐ๋ ๋ฐ ํฉ๊ธ์ธต ๋ถ์
์ ๊ทน ์ ๋จ๊ฒฝ์ด ํ์ ์ ์ฆ๊ฐ์ ๋ฐ๋ผ ๊ฐ์ํ๋ ๊ฒฝํฅ์ ๊ณ ์ฐฐํ๊ณ ์ ์ ๊ทน ๋จ๋ฉด๋ถ๋ฅผ ๋ถ์ํ์๋ค. ๊ทธ๋ฆผ 12๋ ๋์ผํ ์ฉ์ ์กฐ๊ฑด ๋ฐ ํ๊ฒฝ์์ ๊ฐ๊ฐ 90, 180, 270, 360 ํ์ ํ์ ์ ๊ทน๋ค์ ์ฑ์ทจํ์ฌ ๋จ๋ฉด๋ถ๋ฅผ ๋ถ์ํ ๊ฒ์ด๋ค. ๊ทธ๋ฆผ 12(a)๋ถํฐ 12(e)๊น์ง ํ์ ์๊ฐ ์ฆ๊ฐํ ์๋ก ์ ๋จ๋ฉด ํ์์ ๋ณํ๊ฐ ๊ด์ฐฐ๋์๊ณ , ์ด๋ฌํ ํ์์ ๋ณํ๋ 360 ํ์ ํ ์ ๊ทน (๊ทธ๋ฆผ 12(e))์ ๊ธฐ์ค์ผ๋ก ์ ๊ทน ์ค์ฌ๋ถ์ ์ํน ํ์ธ ์์ญ (์์ญ I), ๋์ถ๋ ์์ญ (์์ญ II), ์ต์ธ๊ฐ๋ถ์ ๋ง๋ชจ๋ ์์ญ (์์ญ III) ๋ฑ ์ด ์ธ ์์ญ๋ค๋ก
๋๋ ์ ์๋ค. ๊ทธ๋ฆผ 12(b)์ ๊ทธ๋ฆผ 12(c)์์ ์ ์ฉ์ ํ์ ์ด ์ฆ๊ฐํ ์๋ก ์ ๊ทน์ ์ ๋จ๋ฉด์ ์ค์ฌ๋ถ์ธ ์์ญ I๊ณผ ์์ญ II์ Zn-Cuํฉ๊ธ์ธต์ด ์กด์ฌํ๋ค. ์ด๋ ์ ์ฉ์ ์ ์์ญ I๊ณผ ์์ญ II์์๋ง
ํ์ฌ์ ์์ฐ๋๊ธ์ธต์ด ์ ๊ทนํ๋ฉด๊ณผ ๋์ ๋ฐ์ด์ ์ํ ๋ฐ์์ ์กด์ฌ๋ฅผ ๊ฐ์ ์ ์ผ๋ก ์ค๋ช
ํ ์ ์๋ค. 270 ํ์ (๊ทธ๋ฆผ 12(d))์์ ์์ญ II์ ๋จ๋ฉด ๋์ด๊ฐ ์์ญ I๊ณผ ์์ญ III๋ณด๋ค ์๋์ ์ผ๋ก ๋์์ง๊ณ , ์๋์ ์ผ๋ก ์ธ๊ฐ๋ถ์ธ ์์ญ III์ ๊ณก์ ํํ์ ์ ๊ทน ์ธ๊ฐ๋ถ๊ฐ ํํํ๊ฒ
๋ณํ๋ ๋์๋ค. 360 ํ์ (๊ทธ๋ฆผ 12(e))์์ ์์ญ II์ ๋ณํ๋ ํญ์ด ๋ ๋์์ง๊ณ ์ข์ ๊ฒ์ผ๋ก ํ์ธํ์๊ณ , ์ ๊ทน ์ค์ฌ๋ถ์ ์ํน ํ์ด๋ ์์ญ(์์ญ I)์ด ๋๊ณ ๊น์ด์ง ๊ฒ์ ์ ์ ์๋ค.
์ด๋ฌํ ์ ๊ทน์ ๋๊ณ ๋ฎ์์ ์ ํํ๊ฒ ๋ถ์ํ๊ธฐ ์ํ์ฌ ์ ๊ทน ์ ๋จ๋ถ ๋ฑ๊ณ ์ ์ ๊ทธ๋ฆผ 13์ ๋ํ๋ด์๋ค. ๊ทธ๋ฆผ 13(a)๋ ๊ฐ ํ์ ๋ณ ์ฉ์ ์ ๊ทน ์ ๋จ๋ฉด ๋ฑ๊ณ ์ ๋ค์ ๋ํ๋ธ ๊ฒ์ด๋ฉฐ, ๊ทธ๋ฆผ 13(b)๋ถํฐ 13(d)๋ ์ ๊ทน์ ์ ๋ฐ์ ๋๋์ด ๊ฐ ์์ญ๋ณ๋ก ๋ฑ๊ณ ์ ์ ๋ํ๋ธ ๊ฒ์ด๋ค. ๊ทธ๋ฆผ 13(b)๋ ์ ๊ทน ์ต์ธ๊ฐ๋ถ์ธ ์์ญ III๋ฅผ ๋ํ๋ธ ๊ฒ์ด๋ฉฐ ํ์ ์ ์ฆ๊ฐ์ ๋ฐ๋ผ ์ฉ์ ์ ์ ๊ทน(-โก-)๋ณด๋ค 360 ํ์ ํ ์ ๊ทน(-โ-)์ด ๋ง๋ชจ๊ฐ ๋ฐ์ํ์ฌ ์ ๊ทน
๊ธธ์ด๋ฐฉํฅ์ผ๋ก ์ต๋ 0.3 mm ๊ฐ์ํ๋ ๊ฒ์ ํ์ธํ์๋ค. ์์ญ II๋ ๊ธธ์ด๋ฐฉํฅ์ผ๋ก ํ์ ์์ ๋ฐ๋ผ ๋ฏธ์ธํ๊ฒ ์ฆ๊ฐํ๋ค๊ฐ 270 ํ์ ํ ๊ธ๊ฒฉํ๊ฒ ์ฆ๊ฐํ๋
๊ฒ์ ๊ด์ฐฐํ์๋ค(๊ทธ๋ฆผ 13(c)). ๊ทธ๋ฆผ 13(d)๋ฅผ ๋ณด๋ฉด ์์ญ I์ ํ์ ์๊ฐ ์ฆ๊ฐํ ์๋ก ์ฉ์ ์ ์ ๊ทน๋ณด๋ค 0.3 mm ์ ๋ ๊ฐ์ํ ๊ฒ์ ๊ด์ฐฐํ์๋ค. ์ด๋ ์ฉ์ ์ ์ ์ ๊ทน๊ณผ 360 ํ์ ์ดํ์ ์ ๊ทน์
๋น๊ตํ์์ ๋, ์์ญ III์์ ๋ง๋ชจ๊ฐ ๋ฐ์ํ์๊ณ ์์ญ II์์ ์ ๊ทน์ด ๋ณผ๋กํ์์ด ๋๋ฉฐ, ์ ๊ทน ์ค์ฌ๋ถ๊ฐ ์ค๋ชฉํ์์ผ๋ก ๋ณํ๋ ๊ฒ์ ์๋ฏธํ๋ค. ๊ฒฐ๊ณผ์ ์ผ๋ก,
์ด๋ ๊ธฐ์กด์ ์๋ ค์ง mushrooming ๋ณํ๊ณผ ๊ฐ์ด ํฉ๊ธํ์ ์ํ ์ ๊ทน ์ ๋จ๊ฒฝ์ด ์ฆ๊ฐํ๋ ์ ๊ทน ์ดํ์๋ ๋ค๋ฅธ ์ธ๊ฐ๋ถ ๋ง๋ชจ์ ์ต์ฐฉ ๊ทธ๋ฆฌ๊ณ ์ค์ฌ๋ถ cavity๊ฐ
๋ณตํฉ์ ์ผ๋ก ๋ฐ์ํ๋ ์ดํ ๊ฑฐ๋์ ๋ณด์ด๋ ๊ฒ์ผ๋ก ํ๋จํ ์ ์๋ค. ์ด์ ๊ฐ์ ์ดํ ๊ฑฐ๋์ด ์ฐ์์ ์ธ ์ ์ฉ์ ์ ๋ฐ๋ณต์ ์ผ๋ก ๋ฐ์ํ์ฌ ์ต์ข
์ ์ผ๋ก๋ ์ค์ฌ๋ถ๋
์ค๋ชฉํ์ ๊ทธ๋ฆฌ๊ณ ์ค์ฌ๋ถ ์ธ๊ณฝ์ ๋ณผ๋กํ์ ์ ๊ทน์ผ๋ก ํํ๊ฐ ๋ณํํ์๊ณ , ์ด๋ฌํ ํ์์ ๋ณธ ์ฐ๊ตฌ์์ โplateau formationโ์ผ๋ก ๋ช
๋ช
ํ์๋ค.
์ฆ, ์ด๊ณ ๊ฐ๋๊ฐ์ ์ฐ์ํ์ ์๋ช
ํ๊ฐ์ ์ํด ๋์ถ๊ณผ ๋ง๋ชจ๊ฐ ๋์์ ๋ฐ์ํ๋ ์ดํ ๊ฑฐ๋์ด ๊ด์ฐฐ๋์๊ณ ์ด๋ฌํ ๊ฒฐ๊ณผ๋ ๊ทธ๋ฆผ 11์์ ๊ณ ์ฐฐ๋ ์ ๊ทน ์ ๋จ๋ถ๊ฐ ๊ฐ์ํ๋ ์ด์ ๋ฅผ ์ ์ค๋ช
ํ๊ณ ์๋ค.
๊ทธ๋ฆผ 14์ 15๋ ํ์ ์์ ๋ฐ๋ฅธ ์ ๊ทน์ ์์ญ I์ II ํฉ๊ธ์ธต์ EPMA ์ ๋ถ์(line scanning)ํ ๊ฒฐ๊ณผ์ด๋ค. ๊ทธ๋ฆผ 14(a)๋ฅผ ๋ณด๋ฉด ์์ญ II์์๋ ํ๋ฉด๋ถํฐ ะณ-FeZn์ ์ด์ด Zn์ ํจ๋์ด ๋ง์ ฮณ-CuZn ๊ทธ๋ฆฌ๊ณ Zn์ ํจ๋์ด ๊ฐ์๋ ฮฒ-CuZn ๋ฑ์ ํฉ๊ธ์ธต์ด ์์๋๋ก
๊ด์ฐฐ๋์๋ค. ๊ด์ฐฐ๋ ํฉ๊ธํ์ธต๋ค์ ์ฉ์ ์ ๋ฐ์ํ๋ Zn ๋๊ธ์ธต๊ณผ Cu-Cr ์ ๊ทน์ ํฉ๊ธํ์ ์์ฑ๋ ์ธต์ด ๋๋ถ๋ถ์ด์์ผ๋ฉฐ, ์ต์์์ธต์๋ Fe์ Zn์
ํฉ๊ธ์ธต์ด ๊ด์ฐฐ๋์๋ค [25-27]. ๊ทธ๋ฆผ 14(b)์ ๊ทธ๋ฆผ 14(c)์ฒ๋ผ 180 ํ์ ํ์ 270 ํ์ ํ์ ํฉ๊ธ์ธต์ ฮฒ-CuZn ์ธต์ ๋๊ป๊ฐ ๊ฐ์ํ๊ณ ฮณ-CuZn ์ธต ๋๊ป๊ฐ ์ฆ๊ฐํ์๋ค. ์ด๋ ์ง์์ ์ธ ํฉ๊ธํ ๊ณผ์
์ค ํฉ๊ธ์ธต์ ํฝ์
๊ณผ ์์ง์ด ๋ฐ๋ณต์ ์ผ๋ก ๋ฐ์ํ๋ฉด์ ๋ณํํ ๊ฒ์ผ๋ก ํ๋จ๋๋ค. ๋ํ, ๊ทธ๋ฆผ 14(d)๋ ฮฒ-CuZn ์, ์๋๋ก ๋ณํ๋ Cu ์ ๊ทน์ ์ํ ํฉ๊ธ์ธต์ด ๊ด์ฐฐ๋์๋๋ฐ ์ด๋ ์ ๊ทน๊ณผ ํ์ฌ ์ฌ์ด์ ์ต์ฐฉ์ ์ํด ๋ณผ๋ก๋ ํ์์ผ๋ก ๋ณํ๋๋ ์ค ๋ฐ์ํ
ํ์ํ์ ๋ณํ์ผ๋ก ์ ์ถํ ์ ์๋ค. ๊ทธ๋ฆผ 15๋ ์ ๊ทน์ ์์ญ I ํฉ๊ธ์ธต์ ๊ฐ ์ ์ฉ์ ํ์ ๋ณ๋ก ๋ํ๋ธ ๊ฒ์ด๋ค. ์ ๊ทน์์๋ถํฐ ํ๋ฉด๊น์ง Copper โ Beta Brass โ Gamma Brass โ
Outer Layer ์์ผ๋ก ํฉ๊ธ์ธต์ด ๊ตฌ์ฑ๋์ด ์์ผ๋ฉฐ, ํ์ ์ ์ฆ๊ฐ์ ๋ฐ๋ผ. Fe, Zn ํฉ๊ธ์ธต ๋๊ป๊ฐ 40 ฮผm ์์ 160 ฮผm ์ด์์ผ๋ก ์ฆ๊ฐํ์๋ค.
์ด๋ ์ง์์ ์ธ ๋ณํ์ ์ํด ๋์ถ๋ ์์ญ II์ ์ํด ์์ญ I์ ํ์ฌ์ ์ ์ด์ด ์ถฉ๋ถ์น ์์ ๋๊ฐ ๊ธฐ๋ฅ์ด ์ ํ๋์ด ์ ์ฉ์ ๋ถ ํ์ฌ ํ๋ฉด ์ฉ์ต์ ์ํ Fe
์ฑ๋ถ์ด ์ ๊ทน์ผ๋ก ๊ณผ๋ค ํฉ๊ธํ ํ์์ด ๋ฐ์ํ์๊ธฐ ๋๋ฌธ์ด๋ค.
๊ฒฐ๋ก ์ ์ผ๋ก, ์ด๊ณ ๊ฐ๋ ์ฐ์ํ์ ์๋ช
ํ๊ฐ ์ ์ง์์ ์ธ ํฉ๊ธํ์ ์ํด ์ ๊ทน ํ๋ฉด์ ๋ฐ์ด์ด ๋์์ง๊ณ ์ต์ฐฉ๊ณผ ์ค๊ฐ๋ ๋ฆผ์ ์ํ ์ ๊ทน์ ํ์ํ์ ๋ณํ๊ณผ ์ผ๊ธํ์
๋ณํ์ด ๋์์ ๋ฐ์ํ ๊ฒ์ผ๋ก ํ๋จ๋๋ค. ๋ํ, ์ด๋ฌํ ๋ณํ์ ์ง์์ ์ธ ์ ๋จ๋ถ ์ง๊ฒฝ์ ๊ฐ์์์ผ ์ ์ด๋ฉด์ ๊ฐ์์ ๊ทธ๋ก ์ธํ ์ค๊ฐ๋ ๋ฆผ ๋ฐ ์ฉ์ ๋ถ ๋ด ๊ฒฐํจ์
์์ธ์ผ๋ก ์ฌ๋ฃ๋๋ค.
4. ๊ฒฐ ๋ก
๋ณธ ์ฐ๊ตฌ์์๋ 1180TRIP๊ฐ์ ์ฐ์ํ์ ์๋ช
ํ๊ฐ์ ๊ตญ๋ถ์ ์ธ ์ ๊ทน ์ดํ ํ์์ด ์ฉ์ ํ์ง ์ ํ์ ๋ฏธ์น๋ ์ํฅ์ ๋ํ์ฌ ์ฐ๊ตฌํ์์ผ๋ฉฐ, ๋ค์๊ณผ ๊ฐ์
๊ฒฐ๋ก ์ ์ป์๋ค.
1) ์ฐ์ํ์ ์๋ช
ํ๊ฐ๋ฅผ ์งํํ ๊ฒฐ๊ณผ, ์ด๊ณ ๊ฐ๋๊ฐ์ ๋์ ๊ฐ์ฑ ๋๋ฌธ์ ์ ๊ทน๊ณผ ํ์ฌ์ฌ์ด์ ์ ์ด๋ฉด์ ์ด ๊ตญ๋ถ์ ์ผ๋ก ๋ฐ์ํ์๊ณ , ํ์ฌ์ ์ ์ด๋ ์ ๊ทน ๋ชจ์๋ฆฌ
์์ญ์์ ๋์ ์ ๋ฅ๋ฐ๋๋ก ์ธํ ๋์ ๋ฐ์ด์ ์ผ๊ธฐ์์ผฐ๋ค. ์ฉ์ ์ด ์งํ๋๋ ๊ณผ์ ์์ ์ ๊ทน-ํ์ฌ ๊ณ๋ฉด์์ ์ต์ฐฉ ๋๋ ํ๋ฉด์ฉ์ต์ด ๋ฐ์ํ์ฌ ์ ๊ทน์ ํฉ๊ธํ๋ฅผ
์ด์ง์ํจ๋ค. ์ด๋ฌํ ํน์ฑ์ ์ํด ํ์ ์ ์ฆ๊ฐ์ ๋ฐ๋ผ ์ ๊ทน ์ค์ฌ๋ถ์๋ง Cu-Zn-Fe ํฉ๊ธ์ธต์ด ์์ฑ๋์๊ณ , ๋ฐ๋ณต์ ์ธ ์ฉ์ ์ ์ํด ์ด์ ์ ์ฐ๊ตฌ์๋ ๋ค๋ฅธ
์ ๊ทน์ ์ดํ ๊ฑฐ๋์ด ๊ด์ฐฐ๋์๋ค.
2) ์ ๊ทน ์ ๋จ๋ถ ๊ด์ฐฐ ๊ฒฐ๊ณผ, ์ฐ์์ ์ธ ์ฉ์ ํ ๋ณํ๋ ์ ๊ทน์ ํ์์ 3๊ฐ์ง์ ์์ญ์ผ๋ก ๊ตฌ๋ถํ ์ ์์์ผ๋ฉฐ, ์ ๊ทน๊ณผ ํ์ฌ์ ์ต์ธ๊ฐ๋ถ(์์ญ III)๋
๋ง๋ชจ๋ก ์ธํ ํ์ํ์ ๋ณํ์ด ๋ฐ์ํ์๊ณ , ์ ๊ทน ์ค์ฌ๋ถ๋ ๊ตญ๋ถ์ ์ผ๋ก ๋์ ๋ฐ์ด์ ์ํด ํฉ๊ธํ๊ฐ ์งํ๋์์ง๋ง, ์ต์ฐฉ๊ณผ ๊ณต๊ณต์ผ๋ก ์ธํ์ฌ ํ์ ์๊ฐ ์ฆ๊ฐํ ์๋ก
๋์ถ๋๋ ์์ญ II์ ์ํน ํ์ด๋ ์์ญ I๋ก ๊ตฌ๋ณํ์๋ค. ์ด๋ฌํ ํ์์ โplateau formationโ๋ก ๋ช
๋ช
ํ์๋ค.
3) โplateau formationโ์ ์ํด ์ด๊ณ ๊ฐ๋๊ฐ์ ์ฐ์ํ์ ์๋ช
ํ๊ฐ์ ๋์ผํ ์ฉ์ ์กฐ๊ฑด์์ ์ ๊ทน์ ์ ๋จ๊ฒฝ ๊ฐ์๊ฐ ์ ๊ทน๊ณผ ํ์ฌ ์ฌ์ด์ ์ ์ด๋ฉด์ ์
๊ฐ์์ํค๋ฉด์ ์ ์ด ๊ณ๋ฉด ์ฌ์ด์ ํต์ ์ ๋ฅ๋ฐ๋๊ฐ ์ฆ๊ฐํ์ฌ ๊ณผํ ๋ฐ์ด๋์ผ๋ก ์ธํ ์ค๊ฐ๋ ๋ฆผ์ด ๋ฐ์ํ์๋ค.
4) ๊ณผ๋ํ ์ค๊ฐ๋ ๋ฆผ ๋ฐ ์ต์ฐฉ์ ์ํด์ ๋๊น์ ํฌ๊ธฐ๊ฐ ๋ถ๊ท ์ผํ๊ฒ ํ์ฑ๋๊ณ , ๋๊น๋ถ ๋ด ๊ฒฐํจ์ด ๋ค์ ์กด์ฌํ๋ ๊ฒ์ผ๋ก ๊ด์ฐฐํ์์ผ๋ฉฐ, ์ด๋ ์ ๋จ์ธ์ฅ๊ฐ๋
ํ๊ฐ์ ํ์ค์ ๊ฐ์์ํค๊ณ , ๊ณ๋ฉดํ๋จ์ด ๋ฐ์ํ๋ ์์ธ์ผ๋ก ์์ฉํ์๋ค.
Acknowledgements
์ด ์ฑ๊ณผ๋ ์ ๋ถ(๊ต์ก๋ถ)์ ์ฌ์์ผ๋ก ํ๊ตญ๊ธฐ์ด๊ณผํ์ง์์ฐ๊ตฌ์ ๊ตญ๊ฐ์ฐ๊ตฌ์์ค์ฅ๋น์งํฅ์ผํฐ์ ์ง์์ ๋ฐ์ ์ํ๋ ์ฐ๊ตฌ์(No.2019R1A6C1010045)
REFERENCES
Keeler S., Kimchi M., Advanced High-Strength Steels Application Guidelines V5,WorldAutoSteel
(2015)

Pouranvari M., Asgari H. R., Mosavizadch S. M., Sci. Technol. Weld. Join,12, 217 (2007)

Lu F., Karagoulis M. J., Dong P., p1-4 Sheet Metal Welding Conference IX, (2000)

Williams N. T., Parker J. D., Int. Mater. Rev,49, 45 (2004)

Tolf E., Hedegรฅrd J., Weld. World,52, 43 (2008)

Lopez-Cortez V. H., Reyes-Valdes F. A., Weld. J,87, 36 (2008)

Uijl N. J. D., Smith S., p30โ60 SWANTEC Software and Engineering ApS and FRONIUS International
GmbH,Proc. the 4th International Seminar on Advances in Resistance Welding, (2006)

Senkara J., Zhang H., Hu S. J., Weld. J,83, 123 (2004)

Tamizi M., Pouranvari M., Movahedi M., Sci. Technol. Weld. Join,22, 327 (2016)

Han Z., Indacochea J. E., J. Mater. Eng. Perform,2, 437 (1993)

Son J. W., Seo J. D., Kim D. C., Park Y. D., Corros. Sci. Tech,11, 29 (2012)

Seo J. C., Choi I. D., Son H. R., Ji C. W., Kim C. I., Suh S. B., Seo J. S., Park
Y. D., J. Kor. Weld. Join. Soc,33, 2, 47 (2015)

Parker J. D., Williams N. T., Holliday R. J., Sci. Technol Weld. Join,3, 65 (1998)

Charde N., IJAITI,1, 5 (2012)

Huh D., Jiao Z., Zhou Y., Sheet Metal Welding Conference XVII,1-10, (2016)

Carron D., Rogeon P., Pouvreau C., Lety T., J. Mater. Eng. Perform,23, 1593 (2014)

Bowers R. J., Sorensen C. D., Eager T. W., Weld. J,69, 45 (1990)

Chan K. R., Degree of Master. Thesis,123Univ. Waterloo (2005)

Maki J., Kusumi K., Ohgami M., Miyakosh T., Nippon Steel Technical Report,88, 16 (2003)

Peng J., Fukumoto S., Brown L., Zhou N., Sci. Technol. Weld. Join,9, 331 (2004)

Tumuluru M., Weld. J,86, 161s (2007)

Park S. S., Choi Y. M., Nam D. G., Kim Y. S., Yu J. H., Park Y. D., J. Kor. Weld.
Join. Soc,26, 6, 6 (2008)

Choi C. Y., Lee D. Y., Kim I. B., Kim Y. D., Park Y. D., Korean J. Met. Mater,49,
967 (2011)

Kimchi M., Weld. J,2, 58s (1984)

de A., Dorn L., Gupta O. P., Sci. Technol. Weld. J,5, 49 (2000)

Kondo M., Konishi T., Nomura K., Kokawa H., Sci. Technol. Weld. Join,15, 76 (2010)

Takahashi Y., Saito T., Weld. Inter,8, 262 (1994)

Figures and Tables
Fig. 1.
Schematic diagram of electrode tip deformation by previous study [13].
Fig. 2.
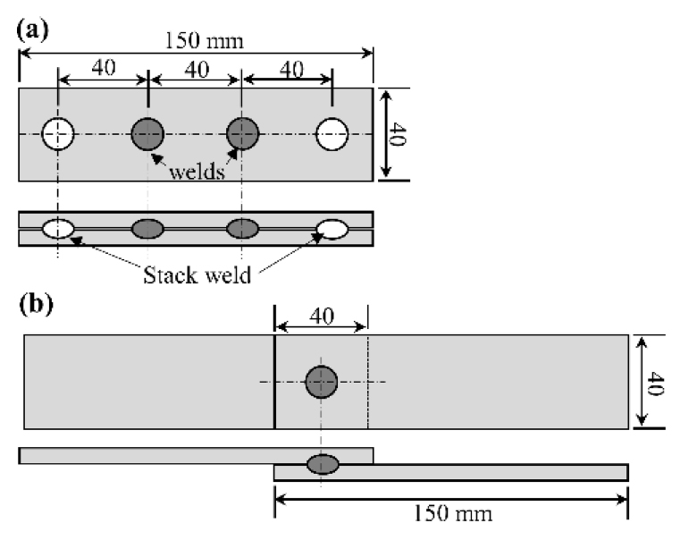
Schematics of (a) welding specimen and (b) tensile-shear test specimens.
Fig. 3.
Microstructural change from the base metal to the weld nugget on the GA 1180 TRIP
steel. (a) weld nugget where the location of micrographs; (b) base metal; (c) HAZ;
(d) fusion zone.
Fig. 4.
Hardness distributions of GA 1180TRIP steel after RSW with 8kA, 4kN and 18cycles.
Fig. 5.
Peak load distributions of GA 1180TRIP steel after RSW with 8kA, 4kN and 18cycles.
Fig. 6.
The analysis of weldability according to increasing weld number (a) Schematic of (b),
(c), (d); (b) nugget size; (c) indentation depth; (d) h/t ratio.
Fig. 7.
Microstructural change to the weld nugget on the GA 1180 TRIP steel (a) after 1 spot;
(b) after 150 spot ; (c) after 360 spot.
Fig. 8.
Schematic diagram of localized electrode alloying process in resistance spot welding
of ultra-high strength steels.
Fig. 9.
The analysis of peak load with respect to increasing weld number.
Fig. 10.
Fracture surface of the tensile shear tested samples for each numbers of weld.
Fig. 11.
Change in diameter of the electrode imprint with respect to weld number.
Fig. 12.
Changes in shape of the cross-sectioned electrode surface according to weld number
(a) as-received; (b) 90th weld; (c) 180th weld; (d) 270th weld; (e) 360th weld.
Fig. 13.
Changes in contour lines of the electrode surface according to weld number without
alloying layer (a) total electrode; (b) region III; (c) region II; (d) region I.
Fig. 14.
SEM image and EPMA line scanning of elements distribution in region II of cross-sectional
electrode; (a) 90th spot; (b) 180th spot; (c) 270th spot; (d) 360th spot.
Fig. 15.
SEM image and EPMA line scanning of elements distribution in region I of cross-sectional
electrode; (a) 90th spot; (b) 180th spot; (c) 270th spot; (d) 360th spot.
Table 1.
Chemical composition and coating weight of TRIP steel
|
Material Chemical Composition (%)
|
|
C
|
Si
|
Mn
|
P
|
S
|
|
0.15
|
0.20
|
2.69
|
0.01
|
> 0.00
|
Coating Weight (g/m2) and Thickness (ยตm)
|
|
Zn Upper
|
Zn Lower
|
Aver. Thickness
|
|
|
|
46.3
|
45.7
|
12.7
|
|
|
Table 2.
Experimental welding conditions (ISO 18728-2)
|
Materials Thickness (mm)
|
Electrode Force (kN)
|
Schedule (cycle)
|
Electrode
|
|
Squeeze
|
Pulse
|
Weld
|
Hold
|
Materials
|
Tip Dia. (mm)
|
Cooling rate (l/min)
|
|
1.2
|
4.0
|
70
|
1
|
14+[4] * |
14+[4] * |
Cu-Cr
|
6
|
6
|