๋ฐ์ง์
(Jiyoung Park)
1
๋จํ์ง
(Hyunji Nam)
1
Qing-Ye Jin
(Qing-Ye Jin)
1
์ด์ฑ์ง
(Wookjin Lee)
1*
-
๋ถ์ฐ๋ํ๊ต์ฌ๋ฃ๊ณตํ๋ถ
(School of Material Science and Engineering, Pusan National University, 46241 Busan,
Republic of Korea)
Copyright ยฉ 2023 The Korean Institute of Metals and Materials
Key words
Additive manufacturing, AISI 316L, L-DED, Dimensional accuracy
1. INTRODUCTION
์ ์ธต ์ ์กฐ (Additive Manufacturing, AM) ๋ ๋ ์ด์ ๋ฑ์ผ๋ก ์ฉ์ต์ํจ ๋ถ๋ง์ด๋ ์์ด์ด ํํ์ ์ธ๋ผ๋ฏน, ํ๋ผ์คํฑ, ๊ธ์ ์ฌ๋ฃ๋ฅผ ํ
์ธต์ฉ ๋๋์ด ์์ ์ฌ๋ ค ์ต์ข
์ ์ผ๋ก 3์ฐจ์ ๋ฌผ์ฒด๋ฅผ ๋ง๋๋ ๊ธฐ๋ฒ์ด๋ค. AM์ ๊ธฐ์กด์ ์ฃผ์กฐ ๋ฐ ๊ธฐ๊ณ์ ๊ฐ๊ณต์ผ๋ก๋ ์ ์ํ ์ ์๋ ๋ณต์กํ ํํ๋ฅผ ์ ์กฐํ ์
์๋ค๋ ํน์ง์ ๊ฐ์ง๊ณ ์๋ค. ๊ทธ ์ค ๊ธ์ ์ ์ธต ์ ์กฐ ๋ฐฉ์์ธ ๋ ์ด์ ์ง์ ์ ์ธต (laser directed energy deposition, L-DED)
๊ณต์ ์ ๋ถ๋ง ํํ์ ๊ธ์ ์์ฌ์ ๋ ์ด์ ๋ฅผ ๋์์ ์กฐ์ฌํด ๋ฌผ์ฒด๋ฅผ ์ ์ธตํ๋ ๋ฐฉ์์ด๋ค. L-DED ๊ณต์ ์์๋ ๋ ์ด์ ๊ฐ ์กฐ์ฌ๋ ๊ณณ์ ์ฉ์ต ํ (melt pool)
์ด ๊ตญ๋ถ์ ์ผ๋ก ํ์ฑ๋๊ณ , ์์์ฌ์ธ ๊ธ์ ๋ถ๋ง์ด ์ฉ์ต ํ์ ์ง์ ๋ถ์ฌ๋์ด ์์ฌ๊ฐ ๊ธ์ํ ์๊ณ ๋๋ฉฐ ๊ธ์์ด ์์ธ๋ค. ์ด๋ฌํ ๋ฐฉ์์ผ๋ก ๋ ์ด์ ์ ๊ธ์ ๋ถ๋ง์
์ค์บํ์ฌ ํ ์ธต์ ๊ธ์์ ์ ์ธตํ๋ ๊ณต์ ์ ๋ฐ๋ณตํ์ฌ 3์ฐจ์ ํํ์ ๊ธ์ ๋ถํ์ ์ธต์ธต์ด ์ ์ํ๋ค. L-DED ๊ณต์ ์ ๊ธ์ ๋ถ๋ง ๋ฐ ๋ ์ด์ ๋ฅผ ์์ฉํ๋ ์ ์ฌํ
AM ๊ณต์ ์ธ ๋ ์ด์ ๋ถ๋ง ๋ฒ ๋ ์ฉ์ต (laser powder bed fusion, L-PBF) ๊ณต์ ์ ๋นํด ๊ณต์ ์๋๊ฐ ๋น ๋ฅด๊ณ , ๋ ์ด์ ์ ๊ธ์ ๋ถ๋ง์ด
์ฌ์ถ๋๋ ๋
ธ์ฆ์ด๋ ์ ์ธต ๋์์ด ์ด๋ํ๋ฉฐ ์ ์ธต์ด ์งํ๋๋ ๋ฐฉ์์ด๊ธฐ ๋๋ฌธ์ ์ ์ธต๋๋ ๋์๋ฌผ์ ํํ ์ ์ ์ด ๋น๊ต์ ์์ ๋ก์์ ์์๋ ๋ถํ์ ์๋ฆฌ๋ ๋ถํ์
ํ๋ฉด ๊ฒฝํ ๋ฑ์ ์ฌ์ฉํ ์ ์๋ ์ฅ์ ์ด ์๋ค [1-4]. AISI 316L ์คํ
์ธ๋ฆฌ์ค ์คํธ์ ๋์ ์ฐ์ฑ๊ณผ ๋น๊ต์ ์ฐ์ํ ๊ฐ๋, ์ฐ์ํ ๋ถ์ ์ ํญ์ฑ์ ๊ฐ์ง๋ฉฐ ์ฉ์ ์ฑ์ ๋์ด๊ธฐ ์ํด ํ์์ ํจ๋์ ์ต์ํํ
์ค์คํ
๋์ดํธ๊ณ ์คํ
์ธ๋ฆฌ์ค ์คํธ๋ก, ๊ธฐ๊ณ ๋ถํ, ํด์ ์ฐ์
, ๋ฐฉ์ ์ฐ์
๋ฑ ๋ค์ํ ์ฐ์
๋ถ์ผ์์ ์ด์ฉ๋๊ณ ์๋ ํฉ๊ธ์ด๋ค [5]. ํนํ AISI 316L์ ์ฐ์ํ ์ฉ์ ์ฑ์ผ๋ก ์ ์ธต ์ ์กฐ๊ฐ ์ฉ์ดํ๊ธฐ ๋๋ฌธ์, L-PBF ๊ณต์ ๊ณผ L-DED ๊ณต์ ์์ ์ ์ธต์ฉ ์คํ
์ธ๋ฆฌ์ค ๊ฐ์ข
์ผ๋ก ํ๋ฐํ๊ฒ
์ฐ๊ตฌ๊ฐ ์งํ๋๊ณ ์๋ค [6]. ์ผ๋ฐ์ ์ผ๋ก ์ ์ธต ๊ธฐ๋ฒ์ผ๋ก ์ ์กฐ๋ ๊ธ์์ ์ฉ์ต ํ์ ๋น ๋ฅธ ๋๊ฐ ์๋์ ์ํ ๋ฏธ์ธํ ์
๊ตฌ์กฐ (cell structure) ๋๋ฌธ์ ์ธ์ฅ ๊ฐ๋๊ฐ ์ฃผ์กฐ
๋ฑ์ ๊ธฐ์กด ๋ฐฉ์์ผ๋ก ์ ์กฐ๋ ๊ธ์๋ณด๋ค ์ฐ์ํ๋ฉฐ, L-DED AISI 316L์ ๊ฒฝ์ฐ AISI 316L ์ฃผ์กฐ์ฌ๋ณด๋ค ์ฝ 2๋ฐฐ ๋์ ์ธ์ฅ ๊ฐ๋๋ฅผ ๊ฐ์ง๋ ๊ฒ์ผ๋ก
์๋ ค์ ธ ์๋ค [7]. L-PBF ๊ณต์ ๊ณผ L-DED ๊ณต์ ์ ๋ ์ด์ ๋ก ๊ธ์ ๋ถ๋ง์ ์ฉ์ตํด ์ ์ธตํ๋ค๋ ์๋ฆฌ๋ ๊ฐ์ผ๋, laser spot size๋ ์ฉ์ต ํ ํฌ๊ธฐ๊ฐ ๋ค๋ฅด๊ธฐ
๋๋ฌธ์, ๊ฐ์ ์์ฌ๋ฅผ ์ฌ์ฉํด๋ ๋ฏธ์ธ์กฐ์ง๊ณผ ๊ธฐ๊ณ์ ํน์ฑ์ ์ฐจ์ด๊ฐ ๋ฐ์ํ๋ค. L-DED ๊ณต์ ์ L-PBF ๊ณต์ ์ ๋นํด ์ฉ์ต ํ์ ํฌ๊ธฐ๊ฐ ๋น๊ต์ ํฌ๋ฉฐ ๋๊ฐ
์๋๊ฐ ๋ ๋๋ฆฌ๊ธฐ ๋๋ฌธ์, L-PBF ๊ณต์ ๊ณผ ๋น๊ตํ๋ฉด ๊ฒฐ์ ๋ฆฝ ํฌ๊ธฐ๊ฐ ๋ค์ ์กฐ๋ํ๋ฉฐ ํญ๋ณต ๊ฐ๋ ์ญ์ L-PBF ๊ณต์ ์ผ๋ก ์ ์กฐ๋ AISI 316L ์์ฌ์
๋นํด ๋ค์ ๋ฎ์ ๊ฒ์ผ๋ก ์๋ ค์ ธ ์๋ค [8].
์ต๊ทผ ๋ค์ด ๋ ์ด์ ์ ์ธต ์ ์กฐ๋ AISI 316L์ ๊ธฐ๊ณ์ ์ฑ์ง๊ณผ ๊ณต์ ๋ณ์์ ๊ดํ ์ฐ๊ตฌ๊ฐ ๋ค์ ์งํ๋์๋ค. L-DED ๊ณต์ ์ ๊ฒฝ์ฐ๋ฅผ ์ดํด ๋ณด๋ฉด, Pacheco
๋ฑ [9] ์ L-DED AISI 316L์ ์ ์ธต ๋ฐฉํฅ๊ณผ ์ด์ฒ๋ฆฌ์ ๋ฐ๋ฅธ ๊ธฐ๊ณ์ ์ฑ์ง์ ํ๊ฐํ๋ค. L-DED ๊ณต์ ์ผ๋ก ์ ์๋ AISI 316L์ ์ด์ฒ๋ฆฌ ์
๋ฏธ์ธ์กฐ์ง์ ๊ท ์งํ๊ฐ ์ด๋ฃจ์ด์ง๊ณ , ์ธ์ฅ ๊ฐ๋๋ ํ๋ฝํ๋ฉฐ ์ถฉ๊ฒฉ ์ ํญ์ฑ์ ๋์์ง๋ ๊ฒ์ผ๋ก ๋ํ๋ฌ๋ค Saboori ๋ฑ [6] ์ ์ ์ธต ์ ๋ต (scanning strategy) ์ ๋ฐ๋ฅธ L-DED AISI 316L์ ๋ฏธ์ธ์กฐ์ง, ๊ธฐ๊ณ์ ์ฑ์ง๊ณผ ์๋ฅ์๋ ฅ์ ๋ณํ๋ฅผ ์ฐ๊ตฌํ์ฌ ์ ์ธต
์ ๋ต์ ์ด ๊ตฌ๋ฐฐ์ ๋ฐฉํฅ๊ณผ ๋๊ฐ ์๋๋ฅผ ๋ฐ๊พธ์ด ๋ฏธ์ธ์กฐ์ง, ์ฉ์ต๊ณผ ์๊ณ ์ ์ํ ์๋ฅ์๋ ฅ์ ๋ณํ๋ฅผ ์ผ์ผํค๋ ๊ฒ์ ๋ณด์๋ค. L-DED ๊ณต์ ์ผ๋ก ์ ์๋ AISI
316L๊ณผ ์ ์ฌํ ๋ฏธ์ธ๊ตฌ์กฐ๋ฅผ ๋ณด์ด๋ L-PBF ๊ณต์ ์ ํตํด ์ ์๋ AISI 316L์ ๊ฒฝ์ฐ๋ฅผ ์ดํด๋ณด๋ฉด, Yu ๋ฑ [10] ์ ์ ์ธต ๋ฐฉํฅ์ ๋ฐ๋ฅธ L-PBF AISI 316L์ ํผ๋ก ํน์ฑ์ ๋ถ์ํ๋ค. ์ ์ธต ๋ฐฉํฅ์ด ์ผ์ ํ ๊ฐ๋๋ฅผ ๊ฐ์ง๋ ๋๊ฐ์ ์ธ ์กฐ๊ฑด์ ์ํธ์ ํผ๋ก ํน์ฑ์ด
์ฐ์ํ๋ฉฐ, ๊ธฐ๊ณต์ด ์ ์ ๊ฒ์ผ๋ก ์๋ ค์ก๋ค. Hahn ๋ฑ [11] ์ ๋ ์ด์ ์ถ๋ ฅ์ด L-PBF AISI 316L์ ๊ฒฐํจ, ์งํฉ์กฐ์ง ๊ทธ๋ฆฌ๊ณ ๋ฏธ์ธ์กฐ์ง์ ๋ฏธ์น๋ ์ํฅ์ ์ฐ๊ตฌํ๋ค. ๋ ์ด์ ์ถ๋ ฅ์ ์ฉ์ต ํ์ ํํ๋ฅผ ๋ณํ์ํค๋ฉฐ
๊ฒฐ๊ณผ์ ์ผ๋ก ๊ฒฐํจ, ์งํฉ์กฐ์ง, ๋ฏธ์ธ์กฐ์ง์ ์ํฅ์ ๋ผ์น๋ค. ๋ ์ด์ ์ถ๋ ฅ์ด ๋์์๋ก ๋ด๋ถ ๊ธฐ๊ณต์ ์ ์ด์ง๋ ๊ฒ์ผ๋ก ์๋ ค์ก๋ค.
AM์ ํตํด ๋ถํ์ด๋ ๊ตฌ์กฐ๋ฌผ์ ์ ์ํ ์ ์ฐ์ํ ๊ธฐ๊ณ์ ์ฑ์ง๊ณผ ํจ๊ป ์ค์ํ๊ฒ ์๊ตฌ๋๋ ์ฑ๋ฅ์ ์ฌ๋ฃ ๊ณต์ ์ ์น์ ์ ๋ฐ๋์ด๋ค. ์ผ๋ฐ์ ์ผ๋ก AM์ผ๋ก ์ ์๋
๋ถํ์ ์ต์ํ์ ํ๊ฐ๊ณต์ ๊ฑฐ์ณ ์ ์ฉํ๋ ๊ฒ์ ๋ชฉํ๋ก ํ๋ฏ๋ก, ์ ์ธต์ฌ์ ์น์ ์ ๋ฐ๋์ ํ๋ฉด ์กฐ๋๊ฐ ์ข์์๋ก, ์ฆ ์ต์ข
์ ํ ํ์๊ณผ ์ ์ธต์ฌ์ ํ์์ด ์ผ์นํ ์๋ก
์ ํ์ ์ต์ข
๋ง๊ฐ์ ์์๋๋ ๊ณต์ ์ด ์งง์์ง๋ค [12]. L-DED ๊ณต์ ์ ๋์ ์น์ ์ ๋ฐ๋๋ฅผ ์ป์ ์ ์๋ L-PBF ๊ณต์ ๊ณผ๋ ๋ฌ๋ฆฌ, ๋ณ๋ค๋ฅธ powder bed๋ ์ํฌํธ ์์ด ์กฐํ๋ฌผ์ ์ง์ ๊ธ์ ๋ถ๋ง๊ณผ
๋ ์ด์ ๋ฅผ ์กฐ์ฌํ๊ธฐ ๋๋ฌธ์ L-PBF ๊ณต์ ๊ณผ ๋น๊ตํ๋ฉด ์น์ ์ ๋ฐ๋์ ํ๋ฉด ์กฐ๋๊ฐ ๋ค์ ๋ฎ์ ๋จ์ ์ ๊ฐ์ง๊ณ ์๋ค. ์ด๋ฅผ ๊ณ ๋ คํ ๋ ํ๊ฐ๊ณต ๋ถ์์ ์ต์ํ๋ฅผ
์ํด์๋ ์ต์ข
์กฐํ๋ฌผ์ ์น์์ ๋ฐ๋๋ฅผ ๋๋๋ก ๋์ด๋ ๊ฒ์ด ์ค์ํ๋ค. L-DED ์ ์ธต์ฌ์ ์น์ ์ ๋ฐ๋์ ํ๋ฉด ์กฐ๋ ๊ฐ์ ์ ์ํด ๋ค์ํ ์ฐ๊ตฌ๊ฐ ์งํ๋์๋ค.
L-DED ๊ณต์ ์ผ๋ก ์ ์กฐ๋ ์ ์ธต์ฌ๋ฅผ ๊ณ ์ ๋ฐ ๊ธฐ๊ณ๋ถํ์ ์ ์ฉํ๊ธฐ ์ํด์๋ ํ๋ฉด์ ํ๊ฐ๊ณต์ด ํ์์ ์ธ๋ฐ, Yang ๋ฑ [13] ์ L-DED AISI 316L์ ํ๋ฉด ๋ง๊ฐ ํฅ์์ ์ํด ์ ์ธต ํ ์ ์ญ ๊ฐ๊ณต์ด ์ด์ด์ง๋ ํ์ด๋ธ๋ฆฌ๋ ์ ์ธต ๋ฐ ์ ์ญ ๊ณต์ (hybrid additive
and subtractive manufacturing) ์ ์ฐ๊ตฌํ๋ค. Careri ๋ฑ [14] ์ L-DED Inconel 718์ ํ๋ฉด ์กฐ๋ ํฅ์์ ์ํด ์ ์ธต ํ ์ด์ฒ๋ฆฌ์ ๊ธฐ๊ณ์ ๊ฐ๊ณต์ ์งํํ๊ณ , ์ด์ฒ๋ฆฌ ์ข
๋ฅ์ ๊ฐ๊ณต์ ์์์ ๋ฐ๋ฅธ ์ํฅ์
์ฐ๊ตฌํ๋ค. ๋ํ ํ๊ฐ๊ณต ๋ฑ์ ๋ฐฉ๋ฒ ์ธ์๋, ์น์ ์ ๋ฐ๋์ ํ๋ฉด ์กฐ๋๋ ๋ ์ด์ ์ถ๋ ฅ ๋ฐ hatch spacing, layer thickness ๋ฑ์
๊ณต์ ๋ณ์๋ก๋ ํฅ์์ด ๊ฐ๋ฅํ๋ค๊ณ ์๋ ค์ ธ ์๋ค [15]. ์ด์ ๊ด๋ จํ์ฌ Ascari ๋ฑ [16] ์ L-DED ์ ์ธต ์ ๋ต์ด ํ๋ฉด ์กฐ๋์ ๋ฐ๋์ ๋ฏธ์น๋ ์ํฅ์ ์ฐ๊ตฌํ๋๋ฐ, ํ๋ฉด ์กฐ๋๋ ์ค์บ ์๋๊ฐ ๋๋ฆด์๋ก ํฅ์๋จ์ ๋ฐํ๋ค. Kim ๋ฑ [17] ์ ๋ถ๋ง ๊ณต๊ธ๋์ด ํ์ ์ ๋ฐ๋์ ๋ฏธ์น๋ ์ํฅ์ ์ฐ๊ตฌํด ๊ณต์ ์ต์ ๋ณ์๋ฅผ ํ์ธํ๋ค. ํ์ง๋ง, ๋ ์ด์ ์ถ๋ ฅ๊ณผ ์ค์บ ์๋ ๋ฑ ๋ ์ด์ ๊ณต์ ๋ณ์์ L-DED
์ ์ธต ์ ์กฐ๋ AISI 316L ์ ์ธต์ฌ์ ์น์ ์ ๋ฐ๋์์ ๊ด๊ณ์ ๋ํ ์ฐ๊ตฌ๋ ๋ณด๊ณ ๋ ๋ฐ ์๋ค. L-DED ๊ณต์ ์์ ์ฉ์ต ํ์ ํํ๋ ๋ ์ด์ ์ถ๋ ฅ๊ณผ ์ค์บ
์๋ ๋ฑ์ ๊ณต์ ๋ณ์์ ํฌ๊ฒ ์ข์ฐ๋๋๋ฐ, ์ฉ์ตํ์ ํํ๊ฐ ๋๊ฐ ์๋์ ์น์ ์ ๋ฐ๋๋ฅผ ๊ฒฐ์ ํ๋ฏ๋ก L-DED ๊ณต์ ๋ณ์์ ์ ์ธต์ฌ์ ํ์, ๋ฏธ์ธ์กฐ์ง ๊ทธ๋ฆฌ๊ณ
๊ธฐ๊ณ์ ํน์ฑ ๊ฐ์ ์๊ด๊ด๊ณ์ ๋ํ ์ข
ํฉ์ ์ธ ์ดํด์ ์ฐ๊ตฌ๊ฐ ํ์ํ ๊ฒ์ผ๋ก ์๊ฐ๋๋ค.
๋ณธ ์ฐ๊ตฌ์์๋ L-DED ๊ณต์ ์ผ๋ก AISI 316L์ ๋ค์ํ ๋ ์ด์ ์ถ๋ ฅ๊ณผ ์ค์บ ์๋๋ก ์ ์ธตํ๊ณ , ๋จ์ ์ฒด์ ์๋์ง ๋ฐ๋๊ฐ ์ต์ข
์ ์ธต ํ์, ๋ฏธ์ธ์กฐ์ง
๋ฐ ๊ธฐ๊ณ์ ํน์ฑ์ ๋ฏธ์น๋ ์ํฅ์ ๋ถ์ํ๋ค. ๋ค์ํ ๊ณต์ ๋ณ์์ ๋ฐ๋ผ L-DED ์ ์ธต์ฌ์ ์ธต๊ฐ ๋๊ป๋ฅผ ๋ถ์ํ๊ณ , ์ ์ธต์ฌ์ ํ์๊ณผ ๋ฏธ์ธ์กฐ์ง์ ๊ดํํ๋ฏธ๊ฒฝ์ผ๋ก
๋ถ์ํด ๋น๊ตํ์๋ค. ๋ํ, ๋์ ์น์ ์ ๋ฐ๋๋ฅผ ์ป์ ์ ์๋ ์ ์ธต ์กฐ๊ฑด์ ๊ธฐ๊ณ์ ํน์ฑ์ ํ๊ฐํ๊ธฐ ์ํด ํด๋น ์กฐ๊ฑด๊ณผ ๋์ผํ ๋จ์ ์ฒด์ ์๋์ง ๋ฐ๋๋ฅผ
๊ฐ์ง๋ ๊ณต์ ์กฐ๊ฑด์ผ๋ก ์ ์ธตํ ์ ์ธต์ฌ์ ์ธ์ฅ ์ํ์ ์งํํ๋ค. ์ด๋ฅผ ํตํด L-DED AISI 316L์ ๊ฐ์ฅ ์ ๋ฐํ๊ฒ ์ ์ธตํ ์ ์๋ ๊ณต์ ๋ณ์๋ฅผ ์ ํํ์์
๋ ์ ์ธต์ฌ์ ๊ธฐ๊ณ์ ํน์ฑ๊ณผ ๋ฏธ์ธ์กฐ์ง์ ๋ฏธ์น๋ ์ํฅ์ ๋ถ์ํ๋ค.
2. EXPERIMENTAL
Fig 1 (a)์ L-DED ๊ณต์ ์ ๋ชจ์๋๋ฅผ, Fig 1 (b)์ ๋ณธ ์ฐ๊ตฌ์์ ์ฌ์ฉํ L-DED ์ฅ๋น ์ฌ์ง์ ๋ํ๋ด์๋ค. ๋ณธ ์ฐ๊ตฌ์์๋ L-DED ์ฅ๋น๋ก ์ต๋ 500 W์ ๋ ์ด์ ์ถ๋ ฅ์ ๊ฐ์ง๋, laser spot
size 0.3 mm์ Ytterbium Fiber Laser๋ฅผ ์ฅ์ฐฉํ MX-Lab (InssTek Inc., Korea) ๋ฅผ ์ฌ์ฉํ์๋ค (Fig 1 (b)). ๊ธ์ ๋ถ๋ง ๋ถ์ฌ์ shielding์ ์ํ ๊ฐ์ค๋ก ์๋ 99.999%์ Ar ๊ฐ์ค๋ฅผ ์ฌ์ฉํ์๋ค.
๋ณธ ์ฐ๊ตฌ์์ ์ฌ์ฉํ ์ ์ธต ์์ฌ๋ MK Corp. (Incheon, Korea) ์์ Gas atomizing ๋ฐฉ์์ผ๋ก ์ ์ํ AISI 316L ๋ถ๋ง์ด๋ค.
์ ์ธต์ด ์งํ๋ ๋ชจ์ฌ๋ ๊ตฌ์กฐ์ฉ ํ์๊ฐ ๊ฐ์ฌ๋ก ๋๋ฆฌ ์ฐ์ด๋ ํ์๊ฐ 0.45 wt.% ํจ์ ๋์ด ์๋ ์คํ์๊ฐ ํ์ฌ์ธ S45C๋ฅผ 100 ร 50 ร 10
mm3 ํฌ๊ธฐ๋ก ์ ๋จํ์ฌ ์ฌ์ฉํ์๋ค. L-DED ์ ์ธต์ ์ฌ์ฉ๋ ๋ถ๋ง๊ณผ ๋ชจ์ฌ ๋ ์์ฌ์ ํํ ์กฐ์ฑ์ Table 1์ ๋ํ๋ด์๋ค.
Fig 2 (a)์ Fig 2 (b)์ ์ฌ์ฉํ ๋ถ๋ง์ ํ๋ฉด๊ณผ ๋จ๋ฉด์ ์ ๊ณ ๋ฐฉ์ฌ ์ฃผ์ฌ ์ ์ ํ๋ฏธ๊ฒฝ (Field-emission scanning electron microscope, FE-SEM,
MIRA3, TESCAN, Republic of Korea) ์ด๋ฏธ์ง๋ฅผ ๊ฐ๊ฐ ๋ํ๋ด์๋ค. ๋ํ ์ฌ์ฉํ ๋ถ๋ง์ ํ๊ท ์
๋ ์ธก์ ์ ์ํด ์
๋ ๋ถ์ (Particle
size analyzer, PSA, LS 13 320, Beckman Coulter, USA) ์ ์งํํด Fig 2 (c)์ ๊ทธ ๊ฒฐ๊ณผ๋ฅผ ๋ํ๋ด์๋ค. Fig 2 (a)์ ๋ํ๋ธ ๋ถ๋ง์ ๋๋ถ๋ถ ์ฝ 80 ฮผm ํฌ๊ธฐ์ ๊ตฌํ ์
์์ด๋ฉฐ, Fig 2 (b)์ ๋ํ๋ ๋ถ๋ง์ ๋จ๋ฉด๋๋ฅผ ๋ณผ ๋ ์์ฃผ ์์ ๊ธฐ๊ณต์ด ๋ถ๋ง ๋ด๋ถ์ ์ผ๋ถ ์กด์ฌํ๋ ๊ฒ์ ์ ์ ์๋ค. ๋ํ Fig 2 (c)์ PSA ๋ถ์ ๊ฒฐ๊ณผ์ ๋ฐ๋ฅด๋ฉด, ์ฌ์ฉํ ๋ถ๋ง์ ์
๋๋ถํฌ๋ 40-140 ฮผm์ ๋ฒ์๋ฅผ ๊ฐ์ง๋ฉฐ ํ๊ท ์
๋๋ ์ฝ 83.93 ฮผm์ผ๋ก ๋ํ๋ฌ๋ค.
Fig 3์ ๋ฏธ์ธ์กฐ์ง์ ๊ด์ฐฐํ๊ธฐ ์ํ 9 ร 9 ร 9 mm3 cube ์ํธ์ ๊ด์ฐฐ ๋จ๋ฉด ๋ชจ์๋์ ๋ณธ ์คํ์์ ๋ ์ด์ ์ ์ธต์ ์ํด ์ฌ์ฉํ ์ ์ธต ์ ๋ต์ ๋ํ๋ด์๋ค. ๋ฏธ์ธ์กฐ์ง ๊ด์ฐฐ์ Fig 3 (a)์ ๋ํ๋ธ ๋ฐ์ ๊ฐ์ด, cube ์ํธ์ ์ ์ค์๋ถ๋ฅผ ์ ๋จํด ์ฐ๋งํ ํ ๊ธฐ๊ณต์ ๊ดํํ๋ฏธ๊ฒฝ (optical microscope, OM, AxioLab 5,
ZEISS, Germany) ์ผ๋ก ๊ด์ฐฐํ์ผ๋ฉฐ, ์ดํ HCl 20 ml + HNO3 60 ml + Glycerol 30 ml์ ํผํฉํ ์ฉ์ก์ผ๋ก etching์ ์งํํด ๊ทธ ๋จ๋ฉด์ ๋ฏธ์ธ์กฐ์ง์ ๊ดํํ๋ฏธ ๊ฒฝ๊ณผ FE-SEM์ผ๋ก ๊ด์ฐฐํ๋ค.
๋ํ ๊ฐ ์กฐ๊ฑด๋ค์ ์น์ ์ ๋ฐ๋๋ฅผ ํ๊ฐํ๊ธฐ ์ํด height gage (Absolute Digimatic Height Gage 0-300 mm, Mitutoyo,
Japan) ๋ก ์ ์กฐ๋ ์ํํธ์ L-DED building direction (BD) ๋ฐฉํฅ ๋์ด๋ฅผ ์ธก์ ํ๋ค. ๋ชจ๋ ์ํํธ์ Fig 3 (b)์ ๋ชจ์์ ์ผ๋ก ๋ํ๋ธ ๊ฒ๊ณผ ๊ฐ์ด ๋ ์ด์ ๋ฅผ ์ง๊ทธ์ฌ๊ทธ๋ก ์กฐ์ฌํ์ฌ ํ ์ธต์ ์ ์ธตํ ํ, ๋ ์ด์ ์ค์บ ๋ฐฉํฅ์ 90๋ ํ์ ํ ๋ค์ ํ ์ธต์ ์ ์ธตํ๋ bi-directional
scanning strategy๋ฅผ ์ฌ์ฉํ์ฌ ์ ์ํ์๋ค [18].
์ํํธ์ ์ ์ธต ์ ์ฌ์ฉํ ๋ ์ด์ ์ถ๋ ฅ, ๋ถ๋ง ๊ณต๊ธ๋ ๋ฐ ์ค์บ ์๋๋ฅผ Table 2์ ๋ํ๋ด์๋ค. ๋ณธ ์คํ์์ ๋ถ๋ง ๊ณต๊ธ๋์ ๋ ์ด์ ์ค์บ ์๋์ ๋ง์ถ์ด ๋จ์ ์ ์ธต ๊ธธ์ด ๋์ ์๋ก ๋ค๋ฅธ ์กฐ๊ฑด์์ ๋์ผํ ์์ ๋ถ๋ง์ด ๊ณต๊ธ๋๋๋ก ์ ํํ์์ผ๋ฉฐ,
๋ฐ๋ผ์ ๋ ์ด์ ์ค์บ ์๋๊ฐ ๊ฐ์ฅ ๋น ๋ฅธ ์กฐ๊ฑด์ธ 1,200 mm/min ์ผ ๋์ ๋ถ๋ง ๊ณต๊ธ๋์ด ์ค์บ ์๋๊ฐ ๊ฐ์ฅ ๋ฎ์ ์กฐ๊ฑด์ธ 960 mm/min ์ผ ๋
๋ณด๋ค ์ฝ 1.25๋ฐฐ ๋ง์ ๋ถ๋ง์ด ๊ณต๊ธ๋๋๋ก ์ค์ ํ์๋ค. L-DED ๊ณต์ ์กฐ๊ฑด ์ค hatch space์ layer thickness๋ ๋ชจ๋ ์คํ์์
๊ฐ๊ฐ 0.3 mm๋ฐ 0.15 mm ๋ก ๊ณ ์ ํ์๋ค.
์ ์ธตํ cube ์ํธ์ BD ๋ฐฉํฅ ๋์ด๋ฅผ ์ธก์ ํ ํ, ์ต์ข
์ ์ธต ํํ๊ฐ ๊ฐ์ฅ ์ ์ก๋ฉด์ฒด์ ์ ์ฌํ๊ณ ๋์ ์น์ ์ ๋ฐ๋๋ฅผ ์ป์ ์ ์๋ 1,080 mm/min,
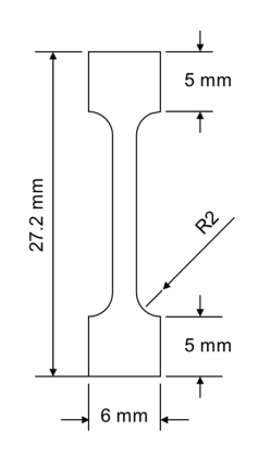
190 W ์กฐ๊ฑด์ ์ ํํ์ฌ ํด๋น ์กฐ๊ฑด์ ๊ธฐ๊ณ์ ํน์ฑ์ ํ๊ฐํ๊ณ ๋น๊ตํ๊ธฐ ์ํด ํด๋น ์กฐ๊ฑด๊ณผ ๋์ผํ ๋จ์ ์ฒด์ ์๋์ง ๋ฐ๋๋ฅผ ๊ฐ์ง๋ ๊ณต์ ์กฐ๊ฑด์ผ๋ก Fig 4 (a)์ ๋ํ๋ธ ๋ชจ์๋์ ๊ฐ์ด ์ธ์ฅ ์ํธ์ ์ ์ธตํ๋ค. ์ธ์ฅ ์ํธ์ ํ์์ KS B 0801 standard [19] ๊ท๊ฒฉ์ ๋ฐ๋๋ค. ์ ์ธต ๋ฐฉํฅ์ ์์ง (Vertical) ๋ฐ ์ํ(Horizontal) ๋ฐฉํฅ์ ์ธ์ฅ์ํํธ์ ์ฑ์ทจํ๊ธฐ ์ํด Fig 4 (b) ์ ๊ฐ์ด 2๊ฐ์ง ํํ๋ก ์ ์ธตํ์์ผ๋ฉฐ, ์ดํ wire cutting ๊ฐ๊ณต์ ํตํด Fig 5์ ๋ํ๋ธ ํํ์ ์ธ์ฅ์ํํธ์ ๊ฐ๊ณตํ์ฌ ์ฑ์ทจํ์๋ค.
3. RESULTS AND DISCUSSION
3.1. ๊ณต์ ๋ณ์์ ๋จ์ ์ฒด์ ์๋์ง ๋ฐ๋์ ๋ฐ๋ฅธ ๊ธฐ๊ณต๋ถํฌ์๋ฐ๋
Fig 6์ ๋ค์ํ ๋ ์ด์ ์ค์บ ์๋์ ๋ ์ด์ ์ถ๋ ฅ์ ๋ฐ๋ผ L-DED ์ ์ธต ์ ์กฐ๋ AISI 316L ํฉ๊ธ์ OM image๋ฅผ ๋ํ๋๋ค. ์ ๋ฐ์ ์ผ๋ก ์ค์บ ์๋๊ฐ
๋นจ๋ผ์ง์๋ก, ๊ทธ๋ฆฌ๊ณ ๋ ์ด์ ์ถ๋ ฅ์ด ๋ฎ์์๋ก ๊ธฐ๊ณต์จ์ด ์ฌ๋ผ๊ฐ๋ ๊ฒ์ด ๊ด์ฐฐ๋๋ค. ๋ ์ด์ ์ถ๋ ฅ์ด 100 - 130 W๋ก ๋น๊ต์ ๋ฎ์ ๊ฒฝ์ฐ, ๋ ์ด์ ์ค์บ
์๋๊ฐ 600 mm/min ์ผ ๋์๋ ๋น์ ํ์ ์์ ๊ธฐ๊ณต๋ค์ด ์ฌ๋ฃ ๋ด๋ถ์ ๋ถ์ฐ๋์ด ์๋ ๊ฒ์ด ๊ด์ฐฐ๋๋ฉฐ, ์ด ๋ ์ค์บ ์๋๊ฐ ๋์์ง๋ฉด ๊ธฐ๊ณต์ ํํ๊ฐ
๋ถ๊ท์นํด์ง๊ณ , ํฌ๊ธฐ๊ฐ ๊ธ๊ฒฉํ๊ฒ ์ปค์ง๋ฉฐ ๊ธฐ๊ณต์จ๋ ๋์์ง๋ ๊ฒ์ ๊ด์ฐฐํ ์ ์๋ค. ๋ ์ด์ ์ถ๋ ฅ์ด 140 โ 170 W ์ฌ์ด์ผ ๋์๋ ๋น์ ํ์ ๋ฏธ์ธํ ๊ธฐ๊ณต๋ค์ด
์ฌ๋ฃ ๋ด๋ถ์์ ๋ฐ๊ฒฌ๋๋๋ฐ, ๋ ์ด์ ์ถ๋ ฅ์ด 180 W ์ด์์ผ ๋์๋ ๋ ์ด์ ์ค์บ ์๋์ ๊ด๊ณ์์ด ์์ฃผ ๋ฏธ์ธํ ๊ตฌํ ๊ธฐ๊ณต๋ง ๋จ์ ์๋ ๊ฒ์ ํ์ธํ ์
์๋ค.
L-DED ์ ์ธต์ฌ์์ ๋ฐ๊ฒฌ๋๋ ๊ธฐ๊ณต ๊ฒฐํจ์ ์
์ด๋์ด ๋ถ์กฑํ๊ฑฐ๋ ์
์ด๋์ ๋นํด ๋ถ๋ง ๊ณต๊ธ๋์ด ๊ณผ๋ํ ๋ ์ฉ์ต๋์ง ์์ ๋ถ๋ถ์ด ๋จ์์ ๋ฐ์ํ๋ lack
of fusion ๊ฒฐํจ๊ณผ, ์ ์ธต์ ์ฌ์ฉ๋ ๋ถ๋ง ์์์ฌ ๋ด๋ถ์ ์๋๋ถํฐ ์กด์ฌํ๋ ๊ฐ์ค ๊ธฐ๊ณต์ ์ํด ๋ฐ์ํ๋ ์๊ณ ๊ท ์ผํ ๊ตฌํ ํํ์ ๊ฒฐํจ, ๊ทธ๋ฆฌ๊ณ ์
์ด๋์ด
๊ณผ๋ํ ๋ ์ฉ์ต ํ์ jet stream์ ์ํด ๊ฐ์ค๊ฐ ์ ์
๋์ด ๋ฐ์ํ๋ ์กฐ๋ํ ๊ตฌํ ํํ์ key-hole ๊ฒฐํจ์ผ๋ก ๋๋ ์ ์๋ค [20]. ์ด๋ฌํ ์ ์ธต์ฌ ๋ด๋ถ์ ๊ธฐ๊ณต์ ๋ณํ ์ ์๋ ฅ ์ง์ค๋ถ๋ก ์์ฉํ์ฌ ์ ์ธต์ฌ์ ๊ธฐ๊ณ์ ์ฑ์ง๊ณผ ๋ฐ๋๋ฅผ ์ ํ์ํค๊ธฐ ๋๋ฌธ์ ์ฌ๋ฌ ๊ณต์ ๋ณ์์ ์ ์ด๋ก ๋ฐ์์
์ต์ ํด์ผ ํ๋ค. ๋จ์ ๋ถํผ์ ์ ์ธต์ฌ๋ฅผ ์ ์ธตํ ๋ ํฌ์
ํ ๋ ์ด์ ์ด๋์ ๋ฐ๋์ธ ๋จ์ ์ฒด์ ์๋์ง ๋ฐ๋(volumetric energy density,
VED) ๋ ๋ค์์ ์์ผ๋ก ํํ๋๋ค.
์ฌ๊ธฐ์ E๋ ๋ ์ด์ ์ถ๋ ฅ, l์ hatch space, t๋ layer thickness, v๋ ์ค์บ ์๋์ด๋ค. VED๊ฐ ๋ฎ์์๋ก, ์ฆ ๋ ์ด์ ์ถ๋ ฅ์ด ๋ฎ๊ณ ์ค์บ ์๋๊ฐ ๋น ๋ฅผ์๋ก ๋ถ๊ท์นํ ํํ์ ๊ธฐ๊ณต์ธ lack of fusion์ด ๋ค์ ๋ถํฌํ๋
๊ฒ์ ํ์ธํ ์ ์๋ค. Fig 7์ 600 mm/min โ 110 W ์กฐ๊ฑด์์ ๋ฐ์ํ lack of fusion ๊ฒฐํจ์ OM image๋ฅผ ๋ํ๋ด์๋ค. ๋น๋์ ๋น๋ ์ฌ์ด์ ๊ธฐ๊ณต์ด ๋ถ๊ท์นํ๊ฒ
๋ผ์ด ์๋ ๋ชจ์ต์ ๋ณผ ์ ์๋ค. ์ฆ, VED๊ฐ ๋ฎ์ ์กฐ๊ฑด์ lack of fusion์ ํด๋น ์ค์บ ์๋, ๋ ์ด์ ์ถ๋ ฅ์ ๋นํด ๋ถ๋ง ๊ณต๊ธ๋์ด ๊ณผ๋ํ์ฌ
๋ ์ด์ ๋ก ํฌ์
ํ ์
์ด๋์ด ์ถฉ๋ถํ์ง ๋ชปํด ๊ณต๊ธ๋ ๋ถ๋ง์๋ค ๋
น์ด์ง ๋ชปํ๊ธฐ ๋๋ฌธ์ด๋ผ๊ณ ํ๋จํ ์ ์๋ค. ํ ํธ, ์ค์บ ์๋์ ๊ด๊ณ์์ด ๋ ์ด์ ์ถ๋ ฅ์ ๋ฐ๋ผ
lack of fusion ๊ธฐ๊ณต์ ์ ์ ์ค์ด๋ค๋ฉฐ ๋ ์ด์ ์ถ๋ ฅ์ด ์ถฉ๋ถํ ๋์ ๊ฒฝ์ฐ ๋ฏธ์ธํ ๊ตฌํ ๊ธฐ๊ณต๋ง ๋จ๋ ๊ฒฝํฅ์ด ๋ชจ๋ ์ค์บ ์๋์์ ๊ด์ฐฐ๋๋๋ฐ, ์ด์
๊ฐ์ด ๋ ์ด์ ์ถ๋ ฅ์ด ๋์ ๋์๋ ์ฌ๋ฃ ๋ด๋ถ์ ๋จ๋ ๋ฏธ์ธํ ๊ตฌํ ๊ธฐ๊ณต์ Fig 2 (b)์ ๋ํ๋ธ ๊ธ์ ๋ถ๋ง ๋ด๋ถ์ ์๋ ์กด์ฌํ๋ ๊ฐ์ค ๊ธฐ๊ณต์ ์ํ ๊ฒ์ผ๋ก ํ๋จ๋๋ฉฐ L-DED ๊ณต์ ์กฐ๊ฑด์ ๊ฐ์ ์ผ๋ก ์ ๊ฑฐํ๊ธฐ ํ๋ค ๊ฒ์ผ๋ก ์ฌ๋ฃ๋๋ค. ํํธ,
๋ณธ ์คํ์์ ์ฌ์ฉ๋ ์กฐ๊ฑด์์๋ ๋ ์ด์ ์
์ด๋์ด ๊ณผ๋ํ ๋ ์๊ธด๋ค๊ณ ์๋ ค์ ธ ์๋ key-hole ๊ฒฐํจ์ ํํ๋ ๊ด์ฐฐ๋์ง ์์๋ค.
์๋ฅดํค๋ฉ๋ฐ์ค๋ฒ์ ์ด์ฉํด cube ์ํธ๋ค์ ๊ฒ๋ณด๊ธฐ ๋ฐ๋ ์ธก์ (XP205 DualRange, METTLER TOLEDO, USA)์ ์งํํ๋ค. Fig 8์ cube ์ํธ์ VED์ ๋ฐ๋ ๊ทธ๋ํ๋ฅผ ๋ํ๋ด์๋ค. ๋ชจ๋ ์ค์บ ์๋์์ ๋ ์ด์ ์ถ๋ ฅ์ด ๋์์๋ก, ์ฆ VED๊ฐ ๋์์ง์๋ก ๊ธฐ๊ณต์ด ์ค์ด๋ค์ด ๋ฐ๋๊ฐ
์์นํ์ฌ AISI 316L์ ์ด๋ก ๋ฐ๋์ธ 8.0 g/cm3์ ๊ทผ์ ํ๋ ๊ฒ์ ์ ์ ์๋ค. ๋ํ ์๋ก ๋ค๋ฅธ ์ค์บ ์๋๋ก ์ ์ธตํ ์ํธ์ ๋ฐ๋๋ฅผ ๋น๊ตํด ๋ณด๋ฉด, ์ค์บ ์๋๊ฐ ๋น ๋ฅผ์๋ก ๋ ๋์ VED ์กฐ๊ฑด์์ ์ด๋ก
๋ฐ๋์ ๊ทผ์ ํ ๋ฐ๋๊ฐ ์ป์ด์ง๋ค. ์ด๋ Fig 6์ ๋ํ๋ธ ๊ธฐ๊ณต ํ์ฑ ๊ฑฐ๋๊ณผ ์ผ์นํ๋ ๊ฒฐ๊ณผ์ด๋ค. ๋ํ lack of fusion์ ์ค์บ ์๋์ ์ถ๋ ฅ์ ๊ด๊ณ์์ด, VED๊ฐ 250 W/mm3 ์ดํ์ธ ๊ฒฝ์ฐ์๋ง ๋ฐ์ํ์์ ์ ์ ์๋ค. VED๊ฐ 250 W/mm3 ์ด์์ธ ๊ฒฝ์ฐ์๋ ๋ถ๋ง์ ์ํ ๊ธฐ๊ณต ์ธ์๋ lack of fusion์ด ์กด์ฌํ์ง ์์๋ค. ๋ฐ๋ผ์ AISI 316L ์์ฌ์ L-DED ์ ์ธต ์ ์กฐ ์
lack of fusion ๊ฒฐํจ์ ๋ฐ์์ ๋ ์ด์ ์ ์ถ๋ ฅ ๋ฐ ์ค์บ ์๋ ๋ฑ ๊ฐ๊ฐ์ ๊ณต์ ๋ณ์์ ์ํ ๊ฒ์ด๊ธฐ ๋ณด๋ค๋ ํฌ์
๋ VED๊ฐ ์ถฉ๋ถํ์ง ๋ชปํ ๋
๋ํ๋๋ ๊ฒ์ผ๋ก ํ๋จํ ์ ์๋ค.
3.2. ํ๊ท layer thickness
Fig 9์ ์ ์ธตํ cube ์ํธ์ VED ๋ณ ํ๊ท layer thickness๋ฅผ ๋ํ๋ด์๋ค. ๋ชจ๋ ์ ์ธต ์กฐ๊ฑด์์ ํ๊ท layer thickness๊ฐ ์์ดํ๊ฒ
๋ํ๋ฌ์ง๋ง, ํ๊ท layer thickness๋ ๋์ผ ์ค์บ ์๋์ผ ๋ VED๊ฐ ์ฆ๊ฐํ ์๋ก ์ ํ์ ์ผ๋ก ๋๊บผ์์ง๋ ์์์ ๋ณด์ธ๋ค. ์ด๋ ์
์ด๋์ด ์ฆ๊ฐํ ์๋ก
์ฉ์ต๋์ด ์ ์ธต๋๋ ๋ถ๋ง์ ์์ด ๋ง์์ง๊ธฐ ๋๋ฌธ์ด๋ค. ๋์ผ VED ์กฐ๊ฑด์ธ 960 mm/min - 170 W ์กฐ๊ฑด, 1,080 mm/min - 190 W
์กฐ๊ฑด๊ณผ 1,200 mm/min โ 210 W ์กฐ๊ฑด์ ๊ฒฝ์ฐ ํ๊ท layer thickness๊ฐ ๊ฑฐ์ ๋น์ทํ๋ค. ํ์ง๋ง ์ธ ๊ฐ์ง ์กฐ๊ฑด๊ณผ VED๊ฐ ๋น์ทํ
600 mm/min โ 110 W ์กฐ๊ฑด์ ๊ฒฝ์ฐ ํ๊ท layer thickness๊ฐ ์ธ ๊ฐ์ง ์กฐ๊ฑด๋ณด๋ค ํ์ ํ๊ฒ ๋ฎ์๋ค. ์๊ธฐ ๋ค ๊ฐ์ง ๊ณต์ ์กฐ๊ฑด์ ๋น๊ตํด
๋ณด๋ฉด, ์ค์บ ์๋๊ฐ ๋น ๋ฅผ์๋ก ํ๊ท layer thickness๊ฐ ์ฆ๊ฐํจ์ ์ ์ ์๋ค. ์ด๋ ์ ์ธต ์ ๋ถ๋ง ๊ณต๊ธ๋์ ์ค์บ ์๋์ ๋น๋กํ๊ฒ ์ค์ ํ๊ธฐ
๋๋ฌธ์ผ๋ก ์ถ์ธก๋๋ค. ์ฆ, L-DED์ ์ฌ์ฉ๋ VED๊ฐ ๋ถ๋ง์ ๋
น์ด๊ธฐ์ ์ถฉ๋ถํ ์กฐ๊ฑด์ธ ๊ฒฝ์ฐ, ๋ถ๋ง ๊ณต๊ธ๋์ด ๊ฐ ์ธต์ ๋์ด๋ฅผ ๊ฒฐ์ ํ๋ค๊ณ ํ๋จํ ์ ์๋ค.
3.3. ์ ์ธต์ฌ ํ์์ ๋ฏธ์น๋ ๊ณต์ ๋ณ์์ ์ํฅ
Fig 10์ ๋ค์ํ ์ค์บ ์๋์ ๋ ์ด์ ์ถ๋ ฅ์์ ์ ์ธตํ cube ์ํธ์ ํ๋ฉด๋์ ์ ๋ฉด๋ ์ฌ์ง์ ๋ํ๋ด์๋ค. Fig 10 (a)์๋ ์ค์บ ์๋ 600 mm/min์กฐ๊ฑด์ผ๋ก ์ ์ํ cube ์ํธ์ ์ธก๋ฉด ์ด๋ฏธ์ง๋ฅผ ๋ํ๋ด์๋๋ฐ, ๋ ์ด์ ์ถ๋ ฅ์ด 70 W์ธ ๊ฒฝ์ฐ ์ ์ธต์ด ์์ง ๋ฐฉํฅ์ผ๋ก๋
์ ํ ์งํ๋์ง ์์์์ ์ ์ ์๋ค. 110 W์ ๊ฒฝ์ฐ ์ธก๋ฉด์ ํ๋ฉด ์กฐ๋๊ฐ ๋งค์ฐ ๋์๋ฉฐ ๊ฐ์ฅ์๋ฆฌ๋ง ๋๊ฒ thin wall ํํ๋ก ํ์ฑ๋๊ณ , ์ค์๋ถ๋
์ํน ํ์ธ ํ์์ ๋๊ณ ์๋ค. ๋ ์ด์ ์ถ๋ ฅ์ด 140 W์ผ๋ก ๋์์ง๊ฒ ๋๋ฉด, ์ต์๋จ๋ถ๊ฐ flatํ ํ์์ ๋๋ฉฐ L-DED ์ ์ธต ์ ๋ ์ด์ ์ค์บ ๊ฒฝ๋ก๋ก
์ค์ ํ ์ ์ก๋ฉด์ฒด ํ์์ ๊ฐ์ถ๊ธฐ ์์ํ์ผ๋ฉฐ, 180 W ๋ฐ 220 W๋ก ๋ ์ด์ ์ถ๋ ฅ์ด ์์นํ ์๋ก BD์ถ ๋ฐฉํฅ ๋์ด๊ฐ ์์นํ๊ณ ์๋จ๋ถ๊ฐ ๋ณผ๋กํด์ง๋ ๊ฒ์
ํ์ธํ ์ ์๋ค. Fig 10 (b)์๋ ์ค์บ ์๋ 840 mm/min์ธ ์กฐ๊ฑด์ cube ์ํธ์ ๋ํ๋ด์๋ค. ์ด ๋ ๋ ์ด์ ์ถ๋ ฅ์ด 100 W ์ผ ๋ ์ํธ์ ํํ๊ฐ 600 mm/min
โ 110 W ์กฐ๊ฑด์ผ๋ก ์ ์ํ ์ํธ๊ณผ ์ ์ฌํ ํํ๋ฅผ ๋ํ๋ด๋ ๊ฒ์ ์ ์ ์์ผ๋ฉฐ, ์ด ๋์ ์ํํธ ํํ๋ ๊ฐ์ฅ์๋ฆฌ๋ง ๋๊ฒ thin wall ํ์์
๋๊ณ ์ค์๋ถ๊ฐ ์ค๋ชฉํ๊ฒ ํ์ธ ํํ๋ฅผ ๋ณด์๋ค. ๋ ์ด์ ์ถ๋ ฅ์ด 150 W ์ด์์ผ ๊ฒฝ์ฐ ์๋จ๋ถ๊ฐ flatํ ํํ๋ฅผ ๋๊ณ , 250 W๊น์ง ๋ ์ด์ ์ถ๋ ฅ์ด ์์นํ ์๋ก
BD์ถ ๋ฐฉํฅ ๋์ด๊ฐ ์์นํ๊ณ ์๋จ๋ถ๊ฐ ๋ณผ๋กํด์ก๋ค. ๋ค๋ง, 600 mm/min ์กฐ๊ฑด๋ณด๋ค ์ ์ฒด์ ์ธ BD์ถ ๋ฐฉํฅ ๋์ด๋ ๋น๊ต์ ๋ฎ์ ์์์ ๋ณด์๋ค. Fig 10 (c)์ ๋ํ๋ธ 1,080 mm/min ์กฐ๊ฑด ์ญ์ ๋ฎ์ ๋ ์ด์ ์ถ๋ ฅ์์๋ ์๋จ๋ถ๊ฐ ์ค๋ชฉํ๊ณ , ๋ ์ด์ ์ถ๋ ฅ์ด ์์นํ ์๋ก ๋์ด๊ฐ ๋์์ง๋ ๋ฑ 600 mm/min,
840 mm/min ์กฐ๊ฑด๊ณผ ๋์ผํ ์์์ ๋ณด์๋ค.
์คํ ๊ฒฐ๊ณผ๋ค์ ์ข
ํฉํด ๋ณด๋ฉด VED๊ฐ ์์นํ ์๋ก ์ ์ธต์ฌ ์์ธต๋ถ๋ ์ค๋ชฉํ ํํ์์ flatํ ํํ๋ฅผ ๊ฑฐ์ณ ์ ์ ๋ณผ๋กํ ํํ๋ก ๋ฐ๋๋ฉฐ, BD์ถ ๋ฐฉํฅ ๋์ด๊ฐ
์์นํ๋ ๊ฒ์ ์ ์ ์๋ค. ์น์ ์ ๋ฐ๋ ์ธก๋ฉด์์ VED๋ฅผ ์ ํํ๋ค๋ฉด ์ ์ธต์ ๋ชฉํ ์ ์ธต ํ์์ผ๋ก ์ค์ ํ cubeํํ์ ๊ทผ์ ํ ํํ๋ฅผ ์ป๊ธฐ ์ํด์๋
์ ์ธต ์๋จ๋ถ๊ฐ flatํ ํํ๊ฐ ์ด์์ ์ด๋ค. ์ ์ธต ์๋จ๋ถ๊ฐ flat ํ ํํ๋ฅผ ๋ณด์ด๋ ๊ณต์ ์กฐ๊ฑด์ ์ค์บ ์๋๋ณ๋ก 600 mm/min - 140 W
(VED : 311.11 W/mm3), 840 mm/min โ 150 W (VED : 238.10 W/mm3), 1,080 mm/min โ 170 W (VED : 209.88 W/mm3), 1,080 mm/min โ 190 W (VED : 234.57 W/mm3) ์ด๋ค. ๋๋ต์ ์ผ๋ก ์ค์บ ์๋๊ฐ ๋น ๋ฅผ์๋ก VED๊ฐ ๋ฎ์์ผ ์ ์ธต์ฌ ์์ธต๋ถ๊ฐ flatํ ํํ๋ฅผ ๊ฐ์ง๋ ๊ฒ์ ์ ์ ์๋ค. ์ฆ, ๊ฐ ์ค์บ ์๋ ๋ณ๋ก ์์ธต๋ถ
ํํ๊ฐ flatํ ์ต์ ์ VED ๋ฒ์๊ฐ ์กด์ฌํจ์ ์์ํ ์ ์๋ค. ๋ณธ ์ฐ๊ตฌ์์ ๋ถ๋ง ๊ณต๊ธ๋์ ๋ชฉํ ์ ์ธต ๋์ด๋ฅผ ๋ง์ถ๊ธฐ ์ํด ์ค์บ ์๋๊ฐ ๋๋ฆด์๋ก ๋ฎ๊ฒ
์ค์ ํ์๋ค. ๋ฐ๋ผ์ ๊ณ ์ ๋ ๋ถ๋ง ๊ณต๊ธ๋ ๋๋ฌธ์ ํน์ ์๋์์ VED๊ฐ ๋์๋ ์ ์ธต๋๋ ๋์ด์ ์ต๋์น๋ ์ผ์ ํ๋ค. ํ ํธ, ์ฉ์ต ํ์ ํฌ๊ธฐ๋ VED์
๋น๋กํ๊ธฐ ๋๋ฌธ์, VED์ ๋ถ๋ง ๊ณต๊ธ๋์ด ์๋ก ์์ํ๋ ์กฐ๊ฑด์ผ ๋ ์ ์ธต๋ถ ์๋จ๋ถ์ ํํ๊ฐ ๋ฐ๋์งํ๊ฒ ํ์ฑ๋๋ค๊ณ ์์ํ ์ ์๋ค. ์ข
ํฉํด์ ๋ณด๋ฉด VED์
๋ถ๋ง ๊ณต๊ธ๋ ๊ฐ์ ์๊ด๊ด๊ณ์ ์ํด ์ ์ธต๋ฌผ์ ์น์ ์ ๋ฐ๋๊ฐ ๊ฒฐ์ ๋๋ค๊ณ ํ๋จ๋๋ค.
Fig 11 (a)์ ์๋จ๋ถ๊ฐ ์ค๋ชฉํ ์กฐ๊ฑด์ธ 600 mm/min โ 100 W์กฐ๊ฑด์ OM ์ด๋ฏธ์ง๋ฅผ ๋ํ๋ด์๋ค. ์ด ๊ฒฝ์ฐ ๋น๋ ์ฌ์ด์ lack of fusion ๊ฒฐํจ์ด
๋ง์ด ๋ฐ์ํ๊ณ , ์ค์๋ถ์ ๊ฐ์ฅ์๋ฆฌ์ ๋์ด ์ฐจ์ด๊ฐ ์ฝ 1 mm์ ๋ ๋ฐ์ํ์์ ์ ์ ์๋ค. ์ด ๋ ์ต์๋จ์ ์ฉ์ต ํ ํํ๋ ๊ท ์ผํ์ง ์๊ณ ์ธํ ๋ถํํ
ํํ๋ฅผ ๊ฐ์ง๋ค. ๋ ์ด์ ์ฉ์ต ํ์ ๋์ด๋ ์ํํธ์ ์ค์์ผ๋ก๋ถํฐ ๊ฐ์ฅ์๋ฆฌ ์ชฝ์ผ๋ก ๊ฐ ์๋ก ๋์์ง๋๋ฐ, ์ด์ ๊ฐ์ ํ์์ด VED๊ฐ ์๋์ ์ผ๋ก ๋ฎ์ ๋
๋ฐ์ํ๋ค๋ ๊ฒ์ ๊ณ ๋ คํ๋ฉด ์ด๋ ์ ์ธต ์ ์ค์๋ถ์ ๋นํด ๊ฐ์ฅ์๋ฆฌ ๋ถ๋ถ์ด ์ฃผ์๋ก ๋นผ์๊ธฐ๋ ์ด๋์ด ์ ๊ธฐ ๋๋ฌธ์ด๋ผ๊ณ ์ง์๋๋ค. L-DED ๊ณต์ ์ค ์์ ๋ฐฉํฅ์ผ๋ก
์ ๋์ ์ํ ์ด์ ๋ฌ์ด ์ผ์ด๋ ์๋์ ์ผ๋ก ๋๊ฐ ์๋๊ฐ ๋น ๋ฅธ ์ค์๋ถ์ ๋ค๋ฅด๊ฒ ๊ฐ์ฅ์๋ฆฌ ๋ถ๋ถ์ ์ํํธ์ ๋ฐ๊นฅ ๋ถ๋ถ์ผ๋ก๋ ์ด์ด ๋๋ฅ์ ์ํด์๋ง ์ ๋ฌ๋๋ฏ๋ก
๋ ์ด์ ์ ์ํด ํฌ์
๋ ์ด์ด ์๋์ ์ผ๋ก ๋ ๋ง์ด ์ถ์ ๋์ด ์ ์ธต ๋ถ์์ ์จ๋๊ฐ ๋์ ๊ฒ์ผ๋ก ์์๋๋ฉฐ, ์ด๋ก ์ธํด ์ฉ์ต ํ์ ์๋์ ํฌ๊ธฐ๊ฐ ์ปค์ง๊ณ ๋ถ๋ง
์ฉ์ต์ด ๋์ฑ ์ํํ์ฌ ๊ฐ์ฅ์๋ฆฌ ๋ถ๋ถ์ด ๊ฐ์ด๋ฐ ๋ถ๋ถ์ ๋นํด ๋ ๋๊ฒ ์ ์ธต๋๋ ๊ฒ์ผ๋ก ๋ณด์ธ๋ค. ๋ํ L-DED ๊ณต์ ์์ ์ค์ ํ 0.15 mm์ layer
thickness์ ๋นํด VED๊ฐ ์ถฉ๋ถํ์ง ์์ ์ค์ ๋ก ์ ์ธต๋๋ ๋์ด๊ฐ ๋ฎ๊ธฐ ๋๋ฌธ์ ๋ ์ด์ ๋ก ํ์ฑ๋ ์ฉ์ต ํ๊ณผ ๋ถ๋ง์ด ๊ณต๊ธ๋๋ ์์น๊ฐ ๋ง์ง ์์ ์ ์ธต์ด
์ํํ๊ฒ ์ด๋ฃจ์ด์ง์ง ์๊ธฐ ๋๋ฌธ์ ํด๋น ํ์์ด ๊ฐ์ํ๋ ๊ฒ์ผ๋ก ํ๋จ๋๋ค.
Fig 11 (b)์ ์๋จ๋ถ๊ฐ flatํ ์กฐ๊ฑด์ธ 1,080 mm/min โ 170 W ์กฐ๊ฑด์ OM image๋ฅผ ๋ํ๋ด์๋ค. lack of fusion ๋ฑ์ ๊ฒฐํจ์ ๊ฑฐ์
๋ฐ์ํ์ง ์๊ณ , ์ต์๋จ์ ์ฉ์ต ํ์ ๋์ด๊ฐ ๊ฐ์ฅ์๋ฆฌ์์๋ถํฐ ์ค์๋ถ๊น์ง ๋น๊ต์ ๊ท ์ผํ๊ฒ ํ์ฑ๋จ์ ์ ์ ์๋ค. ์ด์ ๊ฐ์ด ์ผ์ ํ ์ฉ์ต ํ์ ๋์ด๊ฐ ํ์ฑ๋
๋ ์ ์ธต ์๋จ๋ถ๊ฐ flatํ๊ณ ์น์์ ๋ฐ๋๊ฐ ๋์ ์ํ์ด ์ป์ด์ง์ ์ ์ ์๋ค. ์ด์ ๊ฐ์ ๊ฒฐ๊ณผ๋ ๋ณธ ๊ณต์ ์กฐ๊ฑด์์ VED์ ์์ํ๋ ์ ์ ํ ๋ถ๋ง ๊ณต๊ธ๋์ด
์ฌ์ฉ๋์ด ์ ์ธต ์ค ์ ์ธต ๋ถ์์ ์จ๋๊ฐ ๋น๊ต์ ์ผ์ ํ๊ฒ ์ ์ง๋๋ฉฐ ์ ์ธต๋์๊ธฐ ๋๋ฌธ์ด๋ผ๊ณ ํ๋จ๋๋ค. ๋ํ Fig 11 (c)์ ์์ชฝ์ผ๋ก ๋ณผ๋กํ๊ฒ ์ ์ธต๋๋ ์กฐ๊ฑด์ธ 600 mm/min โ 220 W์ OM image๋ฅผ ๋ํ๋ด์๋ค. ์ด ๊ฒฝ์ฐ ๊ฒฐํจ์ด ๊ฑฐ์ ๋ฐ์ํ์ง ์์ ์ง๋ง,
์ต์๋จ์ ์ฉ์ต ํ์ด ํ๋จ๋ถ์ ์ฉ์ต ํ์ ๋นํด ์ฝ ๋ ๋ฐฐ ์ด์ ๋๊บผ์ ์ผ๋ฉฐ, ์ค๋ฐ๋ถ๋ถํฐ ๋น๋๊ฐ ๋ณผ๋กํ ํํ์์ ํ์ธํ ์ ์๋ค. ์ด๋ ๋ถ๋ง ๊ณต๊ธ๋์ ๋นํด
VED๊ฐ ๊ณผ๋คํด ๋ ์ด์ ์ค์บ ๋์ ๊ฐ์ฅ์๋ฆฌ์ ์ค์๋ถ๊ฐ ์ด๋ฏธ ๊ณผ์ด๋ ์ํ๊ฐ ๋์ด, Fig 11 (a)์ ๊ฒฝ์ฐ์ ๋ฐ๋๋ก ์ค์๋ถ์ ๊ณผ์ด์ด ๊ฐ์ฅ์๋ฆฌ๋ณด๋ค ๋ ์ค๋ ์ง์๋์ด ์ฉ์ต ํ์ ํฌ๊ธฐ๊ฐ ๊ณผ๋ํ๊ฒ ์ปค์ ธ์ ์ค์๋ถ๊ฐ ๋ณผ๋กํด์ง ๊ฒฐ๊ณผ๋ก ์๊ฐ๋๋ค.
3.4 ๋ฏธ์ธ์กฐ์ง
์ ์ธต ์ ๊ธฐ๊ณต์ด ๊ฑฐ์ ์๊ณ ๋์ ์น์ ์ ๋ฐ๋๋ฅผ ์ป์ ์ ์๋ ์กฐ๊ฑด์ธ 1080 mm/min โ 190 W (VED : 234.56 W/mm3) ๋ฅผ ์ ํํ์ฌ, ๋์ผํ VED๋ฅผ ๊ฐ์ง๋ ๋ค๋ฅธ ์ค์บ ์๋์ ๋ ์ด์ ์ถ๋ ฅ์ ํตํด ์ํธ์ ์ ์ํด ๋ฏธ์ธ์กฐ์ง๊ณผ ๊ธฐ๊ณ์ ํน์ฑ์ ๋ถ์ํ์๋ค. ์คํ์ ์ฌ์ฉ๋ ์ ์ธต
์กฐ๊ฑด์ Table 3์ ๋ํ๋ด์๋ค. Fig 12์ 960 mm/min โ 170 W, 1,080 mm/min โ 190 W, 1,200 mm/min โ 210 W ์กฐ๊ฑด์ผ๋ก ์ ์กฐ๋ ์ํํธ์ OM
image๋ฅผ ๋ํ๋ด์๋ค. ์ด ๋, VED๊ฐ ๊ณ ์ ๋๊ณ ์ค์บ ์๋๊ฐ ๊ฐ๊ฐ ๋ค๋ฅธ 3 ๊ฐ์ง ์กฐ๊ฑด์์ ์ฉ์ต ํ์ ํฌ๊ธฐ์ ๋ฏธ์ธ๊ตฌ์กฐ๊ฐ ๊ฑฐ์ ์ ์ฌํ ๊ฒ์ ํ์ธํ
์ ์๋ค. ๋ฐ๋ผ์ ์ฉ์ต ํ์ ํฌ๊ธฐ๋ ์ค์บ ์๋๋ณด๋ค๋ VED์ ์ํด์ ๊ฒฐ์ ๋๋ค๋ ์ฌ์ค์ ์ ์ ์๋ค. Fig 12 (a)์ (c)์ ๋ถ๋ง์ ์ํ ๋ฏธ์ธํ ๊ธฐ๊ณต์ด ์ผ๋ถ ๊ด์ฐฐ๋๋, ์ด๋ ๊ณต์ ๋ณ์์๋ ๊ด๊ณ๊ฐ ์๋ ๊ฒ์ผ๋ก ๋ณด์ธ๋ค. ๋ฐ๋ผ์ VED๊ฐ ๋์ผํ ๊ฒฝ์ฐ, ๋ฏธ์ธ์กฐ์ง์๋ ํฐ ์ฐจ์ด๊ฐ
์๋ ๊ฒ์ผ๋ก ํ๋จํ ์ ์๋ค. ๋ํ 300 ๊ณ์ด ์คํ
์ธ๋ฆฌ์ค ์คํธ์ ์๊ณ ์๋์ ๋ฐ๋ผ ฮด-ferrite, ฮณ-austenite ๋๋ ์ด ๋์ ํผํฉ ์กฐ์ง์
๊ฐ์ง ์ ์๋ ํฉ๊ธ์ด์ง๋ง, AISI 316L ์คํ
์ธ๋ฆฌ์ค ์คํธ์ ๊ฒฝ์ฐ L-PBF ๊ณต์ ์ด๋ L-DED ๊ณต์ ์์ ๋ ์ด์ ์ฉ์ต ํ ๊ธ์ ์๊ณ ์ ์ด์ ์ผ๋ก
ฮณ-austenite ๋จ์์ ์๊ณ ๊ฐ ์ผ์ด๋๋ค๊ณ ์๋ ค์ ธ ์๋ค [19-20] . ์ฆ, ๋ชจ๋ ์์ด ฮณ-austenite ๋จ์์ด๋ผ๊ณ ์์ธก๋๋ค.
Fig 13์ 1,080 mm/min โ 190 W ์กฐ๊ฑด์ SEM image๋ฅผ ๋ํ๋ด์๋ค. L-DED ์ ์ธต๋ ์์ฌ์์ ๋น ๋ฅธ ์๊ณ ์๋ ๋๋ฌธ์ ๋ํ๋๋ ํน์ง์ ์ธ
๋ฏธ์ธ์กฐ์ง์ธ ์
๊ตฌ์กฐ๊ฐ ๊ด์ฐฐ๋๋ฉฐ, ์๊ณ ์
์ ์ฉ์ต ํ ๊ฐ์ฅ์๋ฆฌ์์ ๊ฐ์ด๋ฐ๋ก ๋ฐฉํฅ์ฑ ์ฑ์ฅ์ ํ๋ ๊ฒ์ ๊ด์ฐฐํ ์ ์๋ค. ๊ทธ๋ฆฌ๊ณ ์๊ณ ๊ฐ ์ฉ์ต ํ๊ฒฝ๊ณ๋ถ์์
์ ์ชฝ์ผ๋ก ์งํ๋๋ฉด์ ์
๊ตฌ์กฐ๊ฐ ์์ง์์ ๊ตฌ์กฐ์ ๊ฐ๊น์ด ํํ๋ก ๋ฐ๋๋ ํ์ ์ญ์ ๊ด์ฐฐ๋๋ฉฐ ์ด๋ ์๊ณ ๊ฐ ์งํ๋๋ฉด์ ์๊ณ ์๋๊ฐ ์ฉ์ต ํ ๊ฐ์ด๋ฐ๋ก ๊ฐ
์๋ก ์๋์ ์ผ๋ก ๊ฐ์ํ๊ธฐ ๋๋ฌธ์ผ๋ก ์ง์๋๋ค. ์ฉ์ต ํ ๊ฒฝ๊ณ๋ถ์ ์๊ณ ์
์ ํฌ๊ธฐ๋ ํ๊ท 1.67 ฮผm ๋ก ์ธก์ ๋์๋ค. Yan ๋ฑ [23]์ด ์งํํ L-DED ์ ์ธต๋ AISI 316L์ ๋ฏธ์ธ์กฐ์ง๊ณผ ์ด์ฒ๋ฆฌ ๊ฐ์ ์๊ด๊ด๊ณ์ ๊ดํ ์ฐ๊ตฌ์์๋, ์ค์บ ์๋ 360 mm/min, ๋ ์ด์ ์ถ๋ ฅ
600 W์ ์กฐ๊ฑด์์ ์ ์ธต ์ ์ด์ฒ๋ฆฌ ์ ์
์ ํฌ๊ธฐ๊ฐ ์ฝ 2.20 ฮผm, 400ยฐC์์ 1์๊ฐ ์ด๋๋ง ์ 2.09 ฮผm, 800ยฐC์์ 1์๊ฐ ์ด๋๋ง
์ 2.01 ฮผm์ธ ๊ฒ์ผ๋ก ๋ํ๋ฌ๋ค. ์ด ์ ์ธต ์กฐ๊ฑด์ ๋ณธ ์คํ์์ ์ฌ์ฉ๋ 1,080 mm/min โ 190 W ๊ณต์ ์กฐ๊ฑด๋ณด๋ค VED๊ฐ ํจ์ฌ ๋์ ์กฐ๊ฑด์ด๋ฏ๋ก,
์ฉ์ต ํ์ ํฌ๊ธฐ๊ฐ ๋ณธ ์คํ์ ๋นํด ์กฐ๋ํ๊ณ ์๊ณ ์๋๋ ๋ค์ ๋๋ฆด ๊ฒ์ผ๋ก ์์ํ ์ ์๋ค. ๋ฐ๋ผ์ ๋ณธ ์คํ์กฐ๊ฑด์์ ์ฌ์ฉํ VED ์กฐ๊ฑด์ ์ผ๋ฐ์ ์ธ L-DED
๊ณต์ ์์ ์ฌ์ฉํ๋ ์กฐ๊ฑด์ ๋นํด ์๊ณ ์๋์ ๋๊ฐ ์๋๊ฐ ๋ค์ ๋น ๋ฅธ ์กฐ๊ฑด์์ ์ ์ ์๋ค.
3.5 ๊ธฐ๊ณ์ ์ฑ์ง
Fig 14์ 960 mm/min โ 170 W, 1,080 mm/min โ 190 W, 1,200 mm/min โ 210 W์ ๋์ผ VED์์์ ์ธตํ Vertical
์ํธ๊ณผ Horizontal ์ํธ์ ์ธ์ฅ ์ํ ๊ฒฐ๊ณผ๋ฅผ ๋ํ๋ด์๋ค. Vertical ์ํธ์ ๊ฒฝ์ฐ ํญ๋ณต ๊ฐ๋๊ฐ ์ฝ 450 - 500 MPa, ์ฐ์ ์จ์ 50
- 60%์ผ๋ก ๊ฐ๊ฐ ๋ํ๋ฌ๋ค. ์ด์ ๋นํด Horizontal ์ํธ์ ๊ฒฝ์ฐ ํญ๋ณต ๊ฐ๋๋ ์ฝ 500 - 550 MPa, ์ฐ์ ์จ ์ฝ 50%์ ํน์ฑ์ ๋ํ๋ธ๋ค.
๋ ๋ฐฉํฅ์ ์ํ์ ํน์ฑ์ ๋น๊ตํด ๋ณด๋ฉด ํญ๋ณต ๊ฐ๋์ ๊ฒฝ์ฐ L-DED ์ ์ธต ๋ฐฉํฅ์ผ๋ก ์ธ์ฅํ Vertical ์ํธ์ ๋นํด L-DED ์ ์ธต ์์ง๋ฐฉํฅ์ผ๋ก ์ธก์ ํ
Horizontal ์ํธ์ด ์ฝ 10% ๋์ผ๋ฉฐ, ์ฐ์ ์จ์ Horizontal ์ํธ์ ๋นํด Vertical ์ํธ์ด ์ฝ 5% ๋์ ์์์ ๋ณด์๋ค. ์ด์
๊ฐ์ ์์์ L-DED ํน์ L-PBF ๊ณต์ ์ผ๋ก ์ ์ธตํ ์์ฌ์์ ์ผ๋ฐ์ ์ผ๋ก ๋ฐ์ํ๋ ๊ธฐ๊ณ์ ์ด๋ฐฉ์ฑ๊ณผ ๋์ผํ ๊ฒฝํฅ์ผ๋ก, L-DED ์ ์ธต ์์ง๋ฐฉํฅ์ผ๋ก
์ธ์ฅํ๋ Vertical ์ํ์๋ ์ธ์ฅ ๋ฐฉํฅ๊ณผ ์์งํ ๋ฐฉํฅ์ผ๋ก ์ทจ์ฝํ ์ธต ๊ฐ ๊ฒฝ๊ณ๋ฉด์ด ์กด์ฌํ๊ธฐ ๋๋ฌธ์ผ๋ก ์๋ ค์ ธ ์๋ค [24] . ํ ํธ, ๊ฐ๊ธฐ ๋ค๋ฅธ ์กฐ๊ฑด์์ ์ ์กฐ๋ ์ ์ธต ์ํ๋ค์ ์ ์ธต ๋ฐฉํฅ์ ๋ฐ๋ผ์๋ ๋ชจ๋ ์ด๋ฐฉ์ฑ์ ๋ณด์ด๋ ์ ์ฌํ ๊ฑฐ๋์ ๋ณด์์ง๋ง, ์ค์บ ์๋์ ์ฐจ์ด์ ๋ฐ๋ผ์๋
๋๋ ทํ ๊ฒฝํฅ์ฑ์ ๋ณด์ด์ง ์์๋ค. ๋ํ ์ํธ ๋ฐฉํฅ์ด ๊ฐ์ ๊ฒฝ์ฐ, ์ค์บ ์๋ ๋ฐ ๋ ์ด์ ์ถ๋ ฅ ๋ณํ๋ ํญ๋ณต ๊ฐ๋์ ์ฐ์ฑ์ ์ํฅ์ ์ฃผ์ง ์์๋ค. ์ด๋ Fig 12์ ๋ํ๋ธ ๊ฒ๊ณผ ๊ฐ์ด, ์ฉ์ต ํ์ ํฌ๊ธฐ๊ฐ ์ค์บ ์๋์ ๋ฐ๋ผ์๋ ๊ฑฐ์ ์ฐจ์ด๊ฐ ์๊ณ , ์ฉ์ต ํ์ ํฌ๊ธฐ๊ฐ ๊ฑฐ์ ๊ฐ๊ธฐ ๋๋ฌธ์ ์ค์บ ์๋์ ๋ฐ๋ฅธ ์๊ณ ์๋์
์ฐจ์ด๋ ๊ฑฐ์ ์๊ธฐ ๋๋ฌธ์ผ๋ก ์๊ฐ๋๋ค. Yan ๋ฑ [23] ์ ์ฐ๊ตฌ์ ๋ฐ๋ฅด๋ฉด L-DED ์ ์ธต๋ AISI 316L์ ํญ๋ณต ๊ฐ๋๋ ์๊ณ ์
์ ํฌ๊ธฐ์ ํฌ๊ฒ ์ข์ฐ๋๋๋ฐ, ์๊ณ ์
์ ํฌ๊ธฐ๋ ์ฉ์ต ํ์ ํฌ๊ธฐ๋ก ๋๋ณ๋๋
์๊ณ ์๋์ ์ํด ๊ฒฐ์ ๋๋ค. ์ด๋ฅผ ๊ณ ๋ คํด ๋ณด๋ฉด AISI 316L ์์ฌ๋ฅผ L-DED ์ ์ธตํ ๊ฒฝ์ฐ์๋ VED๊ฐ ๋์ผํ ๊ฒฝ์ฐ ์๊ณ ์๋๊ฐ ํฌ๊ฒ ๋ฌ๋ผ์ง์ง
์๊ณ ์ด์ ๋ฐ๋ผ ์ ์ธต์ฌ์ ๊ธฐ๊ณ์ ์ฑ์ง๋ ์ค์บ ์๋์ ํฐ ์ํฅ์ ๋ฐ์ง ์๋๋ค๊ณ ํ๋จํ ์ ์๋ค.
๋ณธ ์คํ๊ณผ ์ ์ฌํ ๋ฐฉ๋ฒ์ผ๋ก AISI 316L ์์ฌ๋ฅผ L-DED ์ ์ธตํ ์ฌ๋ก๋ฅผ ์ดํด๋ณด๋ฉด, laser spot size๊ฐ 1.2 mm์ด๊ณ ๋ ์ด์ ์ถ๋ ฅ
600 W, ์ค์บ ์๋ 360 mm/min์์ ์ ์ธตํ L-DED AISI 316L์ ์ธ์ฅ ๊ฐ๋๋ ์ฝ 478 MPa, ์ฐ์ ์จ์ ์ฝ 39%๋ก ๋ํ๋ฌ์ผ๋ฉฐ
๋ณธ ์ฐ๊ตฌ์ ์ธ์ฅ ์ํ ๊ฒฐ๊ณผ๋ณด๋ค ๊ฐ๋์ ์ฐ์ ์จ์ด ๋ค์ ๋ฎ์๋ค [23]. ์
๊ตฌ์กฐ๊ฐ ์์์๋ก ํญ๋ณต ๊ฐ๋์ ์ธ์ฅ ๊ฐ๋๊ฐ ์์นํ๋ฏ๋ก ์ด๋ 3.4์ ์์ ์์ ํ ์
๊ตฌ์กฐ์ ํฌ๊ธฐ ์ฐจ์ด์ ๊ธฐ์ธํ๋ค๊ณ ํ๋จํ ์ ์๋ค.
4. CONCLUSIONS
(1) ๋ค์ํ ๋ ์ด์ ์ถ๋ ฅ๊ณผ ์ค์บ ์๋ ์กฐ๊ฑด์์ L-DED ์ ์ธต ์ ์กฐ๋ AISI 316L์ ๊ธฐ๊ณต ํํ์ ๋ถํฌ๋ฅผ ํ์ธํ๊ณ ๋ฐ๋๋ฅผ ์ธก์ ํ๋ค. ์ด ๋์
lack of fusion ๊ฒฐํจ์ ์ํ ๊ธฐ๊ณต๋ถํฌ๋ ๊ฐ ์ธต์ ๋์ด๋ฅผ ๊ณ ์ ํ ๊ฒฝ์ฐ VED์ ์ง์ ์ ์ธ ์ํฅ์ ๋ฐ๋ ๊ฒ์ผ๋ก ๋ํ๋ฌ๋ค. ๋ณธ ์ฐ๊ตฌ์์ ์ฌ์ฉํ
์คํ์กฐ๊ฑด์์ VED๊ฐ 250 W/mm3 ์ด์์ธ ๊ฒฝ์ฐ ๋ ์ด์ ์ค์บ ์๋์ ์๊ด์์ด lack of fusion ๊ฒฐํจ์ด ์์ด ์ด๋ก ๋ฐ๋์ ๊ฐ๊น์ด ๋ฐ๋๋ฅผ ๋ณด์ด๋ ์ ์ธต๋ฌผ์ ์ป์ ์ ์์๋ค.
(2) ๋ถ๋ง ๊ณต๊ธ๋์ ๊ณ ์ ํ๊ณ ๋ค์ํ ์ ์ธต ์กฐ๊ฑด์์ AISI 316L์ L-DED ์ ์ธตํ ๊ฒฝ์ฐ VED๊ฐ ๋์์๋ก ํ๊ท layer thickness๋
๋๋ต ์ ํ์ ์ผ๋ก ์ฆ๊ฐํ์๋ค. ์ด๋ VED๊ฐ ๋์ ์๋ก ๋ถ๋ง์ ๋
น์ด๋ ๋ฐ ํฌ์
๋ ์ด๋์ด ๋์์ง๊ธฐ ๋๋ฌธ์ผ๋ก ํ๋จ๋๋ค. ๋ํ ๋์ผํ VED ์กฐ๊ฑด์์ ์๋ก
๋ค๋ฅธ ๋ ์ด์ ์ค์บ ์๋๋ฅผ ์ฌ์ฉํ ๊ฒฝ์ฐ ์ค์บ ์๋๊ฐ ๋น ๋ฅผ์๋ก ํ๊ท layer thickness๊ฐ ์ฆ๊ฐํ์๋๋ฐ, ์ด์ ๊ฐ์ ๊ฒฐ๊ณผ๋ ์ค์บ ์๋๊ฐ ๋น ๋ฅผ ์๋ก
๊ธฐํ ๋ฐ ์ ์ธต์ฌ๋ฅผ ํตํด ๋น ์ ธ๋๊ฐ๋ ์ด๋์ด ์๋์ ์ผ๋ก ์ค์ด๋ค๊ธฐ ๋๋ฌธ์ ๋ถ๋ง์ ๋
น์ด๋ ๋ฐ ํฌ์
๋๋ ์ด๋์ด ์ฆ๊ฐํ๊ธฐ ๋๋ฌธ์ผ๋ก ์๊ฐ๋๋ค.
(3) ๋ค์ํ ๋ ์ด์ ์ถ๋ ฅ๊ณผ ์ค์บ ์๋ ์กฐ๊ฑด์์ ์ ์ธต์ฌ์ ํ์์ ๋ถ์ํด ๋ณด๋ฉด, VED๊ฐ ๋์์ง ์๋ก ์ ์ธต์ฌ ์๋จ๋ถ์ ํํ๊ฐ ์ค๋ชฉํ ํํ์์ ์ ์ ๋ณผ๋กํ
ํํ๋ก ๋ฐ๋๋ ํ์์ด ๊ด์ฐฐ๋์๋ค. VED๊ฐ ๋ค์ ๋ฎ์ ์กฐ๊ฑด์์ ์ ์ธต๋ฌผ ์๋จ์ด ์ค๋ชฉํด์ง๋ ํ์์ ์๋์ ์ผ๋ก ๋ฎ์ ์ด๋์ ํฌ์
๋๋ฌธ์ ์ ์ธต์ฌ ์ค์๋ถ๋ฅผ
๋ ์ด์ ์ค์บํ ๋์๋ ๋ถ๋ง์ ๋ชจ๋ ๋
น์ด๊ธฐ์ ์ถฉ๋ถํ์ง ์์ ์ด๋์ด ํฌ์
๋๋ ๋ฐ๋ฉด, ์ ์ธต์ฌ ๋ชจ์๋ฆฌ ๋ถ๊ทผ์ ์ค์บํ ๋์๋ ์ ์ธต์ฌ์ ํ์ ๋๋ฌธ์ ์ด์ด ์ถ์ ๋์ด
์ ์ธต์ฌ์ ์จ๋๊ฐ ์์นํ์ฌ ์ฉ์ต ํ์ ํฌ๊ธฐ๊ฐ ์ปค์ง๊ธฐ ๋๋ฌธ์ผ๋ก ๋ํ๋ฌ๋ค. ํ ํธ, VED๊ฐ ๊ณผ๋ํ๊ฒ ๋๊ฒ ์ค์ ๋ ๊ฒฝ์ฐ ๋ฐ๋๋ก ์ ์ธต์ฌ ์ ๋ฐ์ ์ผ๋ก ๊ณผ์ด์ด
์ผ์ด๋ ์ ์ธต๋ถ์ ์จ๋๊ฐ ๋์ ์ค์๋ถ์ ์ฉ์ต ํ ํฌ๊ธฐ๊ฐ ์ปค์ง๋ ๊ฒฝํฅ์ ๋ณด์๋ค. ์ด๋ฅผ ์ข
ํฉํด ๋ณด๋ฉด, ๋์ ์น์์ ๋ฐ๋๋ฅผ ์ป๊ธฐ ์ํด์๋ ์ ์ ํ VED๋ฅผ ์ ํํ์ฌ
์ ์ธตํ๋ ๊ฒ์ด ์ด์์ ์ด๋ผ๊ณ ํ๋จ๋๋ค. ๋ณธ ์คํ์์ ์ฌ์ฉ๋ ์กฐ๊ฑด์์๋ VED : 234.56 W/mm3 ์กฐ๊ฑด์์ ์ ์ธต์ฌ ์๋จ ํ์์ด ๊ฑฐ์ flatํ ์ด์์ ์ธ ํํ๋ฅผ ์ป์ ์ ์์๋ค.
(4) ๊ธฐ๊ณต ๊ฒฐํจ์ด ๋ฐ์ํ์ง ์๊ณ ์น์ ์ ๋ฐ๋๊ฐ ๊ฐ์ฅ ์ข์ VED ์กฐ๊ฑด์ ์ ํํ์ฌ AISI 316L์ L-DED ์ ์ธตํ์ฌ ๋ฏธ์ธ์กฐ์ง๊ณผ ๊ธฐ๊ณ์ ํน์ฑ์
๋ถ์ํ ๊ฒฐ๊ณผ, L-DED ์ ์ธต๋ AISI 316L์ ํญ๋ณต ๊ฐ๋๋ ์ ์ธต ์์ง๋ฐฉํฅ์ผ๋ก ์ฝ 450 โ 500 MPa, ์ ์ธต ์ํ๋ฐฉํฅ์ผ๋ก๋ 500 โ 550
MPa ์ ๋๋ก, ์ ์ธต ์ํ๋ฐฉํฅ์ผ๋ก ํญ๋ณต ๊ฐ๋๊ฐ ๋ค์ ๋์ ๊ฒ์ผ๋ก ๋ํ๋ฌ์ผ๋ฉฐ ์ฐ์ ์จ์ ๊ฒฝ์ฐ ์ ์ธต ์์ง๋ฐฉํฅ์ด ๋ค์ ๋์ ๊ฒฝํฅ์ ๋ณด์๋ค. ์ด๋ ์ธต๊ฐ ๊ฒฝ๊ณ๋ฉด์ด
์ธต ๋ด๋ถ์ ๋นํด ๋น๊ต์ ์ทจ์ฝํ ์ ์ธต์ฌ์ ์ผ๋ฐ์ ์ธ ํน์ง์ผ๋ก ์๋ ค์ ธ ์๋ค. ํ ํธ, ๋์ผ VED ์กฐ๊ฑด์์ ๋ ์ด์ ์ค์บ ์๋๋ฅผ 960 mm/min์์ 1,200
mm/min ์ผ๋ก ํฌ๊ฒ ๋ณํ์ํค๋ ๊ฒฝ์ฐ์๋ ๋ฏธ์ธ์กฐ์ง๊ณผ ๊ธฐ๊ณ์ ํน์ฑ์ ๋งค์ฐ ์ ์ฌํ ๊ฒ์ผ๋ก ๋ํ๋ฌ๋ค. ๋ฏธ์ธ์กฐ์ง์ ๋ถ์ํด ๋ณด๋ฉด VED์ ๊ฐ ์ธต์ ๋์ด๊ฐ
๋์ผํ๊ฒ ์ค์ ๋ ๋์๋ ์ฉ์ต ํ์ ํฌ๊ธฐ์ ํํ๊ฐ ๋ ์ด์ ์ค์บ ์๋์ ๋ฐ๋ผ์๋ ๊ฑฐ์ ๋ณํ๊ฐ ์๋ ๊ฒ์ ์ ์ ์์๋ค. ๋ฐ๋ผ์ VED์ ๊ฐ ์ธต์ ๋์ด๋ฅผ
๊ณ ์ ํ ๊ฒฝ์ฐ AISI 316L ํฉ๊ธ์ ์๊ณ ์๋๋ ๊ฑฐ์ ๋น์ทํ ๊ฒ์ผ๋ก ํ๋จ๋๋ฉฐ, ๊ธฐ๊ณ์ ํน์ฑ์ ํฐ ์ํฅ์ ๋ฏธ์น๋ ์๊ณ ์
๊ตฌ์กฐ๊ฐ ์ ์ฌํ ํฌ๊ธฐ๋ก ๋ฐ๋ฌํ์
๊ฒ์ผ๋ก ์์ธก๋๋ค. ์ด์ ๊ฐ์ ์ด์ ๋ก ๊ธฐ๊ณ์ ํน์ฑ์ ์ค์บ ์๋๊ฐ ํฌ๊ฒ ๋ณํํ๋๋ผ๋ ๊ฑฐ์ ๋ณํ๊ฐ ์์์ ๊ฒ์ผ๋ก ์ฌ๋ฃ๋๋ค.
Acknowledgements
์ด ๋
ผ๋ฌธ์ 2022๋
๋ ์ ๋ถ(๊ต์ก๋ถ)์ ์ฌ์์ผ๋ก ํ๊ตญ์ฐ๊ตฌ์ฌ๋จ ๊ธฐ์ด์ฐ๊ตฌ์ฌ์
์ ์ง์ (No. NRF-2022R1A2C1012478), ๋ฐ 2022๋
๋
์ฐ์
ํต์์์๋ถ ๋ฐ ์ฐ์
๊ธฐ์ ํ๊ฐ๊ด๋ฆฌ์(KEIT) ์ฐ๊ตฌ๋น ์ง์์ ์ํ ์ฐ๊ตฌ์ (๊ณผ์ ๋ฒํธ 20004913).
REFERENCES
Frazier W. E., J. Mater. Eng. Perform,23, 1917 (2014)

Svetlizky D., Das M., Zheng B., Vyatskikh A. L., Bose S., Bandyopadhyay A., Schoenung
J. M., Lavernia E. J., Eliaz N., Mater. Today,49, 271 (2021)

Wong K. V., Hernandez A., ISRN Mech. Eng,2012, 1 (2012)

Kim S. E., Yoo S. C., Kim H. G., J. Korean Inst. Met. Mater,60, 819 (2022)

Seo Y. W., Kim C. Y., Seo B. K., Chung W. S., J. Korean Inst. Met. Mater,60, 46 (2022)

Saboori A., Aversa A., Bosio F., Bassini E., Librera E., De Chirico M., Biamino S.,
Ugues D., Fino P., Lombardi M., (n.d.), Mater. Sci. Eng. A,766, 138360

Saboori A., Aversa A., Marchese G., Biamino S., Lombardi M., Fino P., Appl. Sci,10,
(2020)

Ma M., Wang Z., Zeng X., Mater. Sci. Eng. A,685, 265 (2017)

Pacheco J. T., Meura V. H., Bloemer P. R. A., Veiga M. T., de Moura Filho O. C., Cunha
A., Teixeira M. F., Adv. Ind. Manuf. Eng,4, (2022)

Yu C., Zhong Y., Zhang P., Zhang Z., Zhao C., Zhang Z., Shen Z., Acta Metall. Sin.
(English Lett, (2020)

Choo H., Sham K. L., Bohling J., Ngo A., Xiao X., Ren Y., Depond P. J., Matthews M.
J., Garlea E., Mater. Des,164, 107534 (2019)

Turner B. N., Gold S. A., Rapid Prototyp. J,21, 250 (2015)

Yang Y., Gong Y., Qu S., Xie H., Cai M., Xu Y., Int. J. Adv. Manuf. Technol,107, 177
(2020)

Careri F., Imbrogno S., Umbrello D., Attallah M. M., Outeiro J., Batista A. C., J.
Manuf. Process,61, 236 (2021)

Shim D. S., Baek G. Y., Seo J. S., Shin G. Y., Kim K. P., Lee K. Y., Opt. Laser Technol,86,
69 (2016)

Ascari A., Lutey A. H. A., Liverani E., Fortunato A., Lasers Manuf. Mater. Process,7,
426 (2020)

Kim G., Sensitivity Analysis of Process Parameters Considering Dimensional Accuracy
and Relative Density in Direct Energy Depoisition with SUS316L Powders, https://scholarworks.unist.ac.kr/handle/201301/31826,
(2020)
Jia H., Sun H., Wang H., Wu Y., Wang H., Int. J. Adv. Manuf. Technol,113, 2413 (2021)

Kim T. H., Baek G. Y., Jeon J. B., Lee K. Y., sik Shim D., Lee W., Surf. Coatings
Technol,405, 126540 (2021)

Dass A., Moridi A., Coatings,9, 1 (2019)

Funch C. V., Somlo K., Christiansen T. L., Somers M. A. J., Surf. Coatings Technol,441,
128495 (2022)

Park S., Kang Y., Oh D., Song S., Hong H., 39, 45 (2021)
Yan Z., Zou K., Cheng M., Zhou Z., Song L., J. Mater. Res. Technol,15, 582 (2021)

Hitzler L., Hirsch J., Heine B., Merkel M., Hall W., รchsner A., Materials (Basel),10,
(2017)

Figures and Tables
Fig. 1.
(a) Schematic of the L-DED process. (b) InssTek MX-Lab L-DED facility.
Fig. 2.
(a) SEM image of surface of AISI 316L powder (b) SEM image of cross section of AISI
316L powder (c) Differential volume of AISI 316L powder
Fig. 3.
(a) Observed surface of the manufactured cube samples (b) Schematics of scanning strategies
for samples
Fig. 4.
(a) Schematic of scanning strategies for tensile samples (b) Appearances of manufactured
tensile samples
Fig. 5.
Dimensions for the tensile samples
Fig. 6.
Microstructure of the specimens before chemical etching
Fig. 7.
OM image of lack of fusion defect in cube specimen produced by 600 mm/min โ 110 W
condition.
Fig. 8.
Density per volumetric energy density for cube specimens.
Fig. 9.
Relationships between VED and mean layer thickness
Fig. 10.
Top view and side view of manufactured cube specimens with substrate; (a) 600 mm/min
(b) 840 mm/min (c) 1,080 mm/min
Fig. 11.
OM image of the top layer (a) 600 mm/min - 110 W (b) 1,080 mm/min - 170 W (c) 600
mm/min - 220 W
Fig. 12.
OM image of the specimen (a), (b) 960 mm/min โ 170 W (c), (d) 1,080 mm/min โ 190 W
(e), (f) 1,200 mm/min โ 210 W
Fig. 13.
SEM image of the cell structure of 1,080 mm/min โ 190 W condition
Fig. 14.
Stress-strain graph for vertical tensile specimen and horizontal tensile specimen
Table 1.
Chemical composition of the AISI 316L powder and substrate (wt.%)
|
Elements
|
Fe
|
Cr
|
Ni
|
Mo
|
Si
|
S
|
P
|
C
|
Mn
|
|
AISI 316L Powder
|
Bal.
|
17
|
10
|
2
|
โค 1
|
0.02
|
0.045
|
โค 0.03
|
โค 2
|
|
Substrate (S45C)
|
Bal.
|
0.25
|
0.25
|
-
|
0.17-0.37
|
0.035
|
0.035
|
0.42-0.50
|
0.50-0.80
|
Table 2.
Process parameters used for cube samples
|
Scan speed (mm/min)
|
Powder feed rate (g/min)
|
Laser power (W)
|
|
600
|
1.4
|
70
|
|
110
|
|
140
|
|
180
|
|
220
|
|
840
|
2.0
|
100
|
|
150
|
|
200
|
|
230
|
|
250
|
|
1,080
|
2.6
|
130
|
|
150
|
|
170
|
|
190
|
|
250
|
Table 3.
Process parameters used for tensile samples
|
Laser scan speed (mm/min)
|
Powder feed rate (g/min)
|
Laser power (W)
|
|
960
|
2.3
|
170
|
|
1,080
|
2.6
|
190
|
|
1,200
|
2.9
|
210
|